PRODUCTS

  • Home
  • Giới thiệu sản phẩm

INA
BKE.TSX55-D-SO
Braking/clamping element BKE.TSX55-D-SO
Thêm vào yêu cầu báo giá
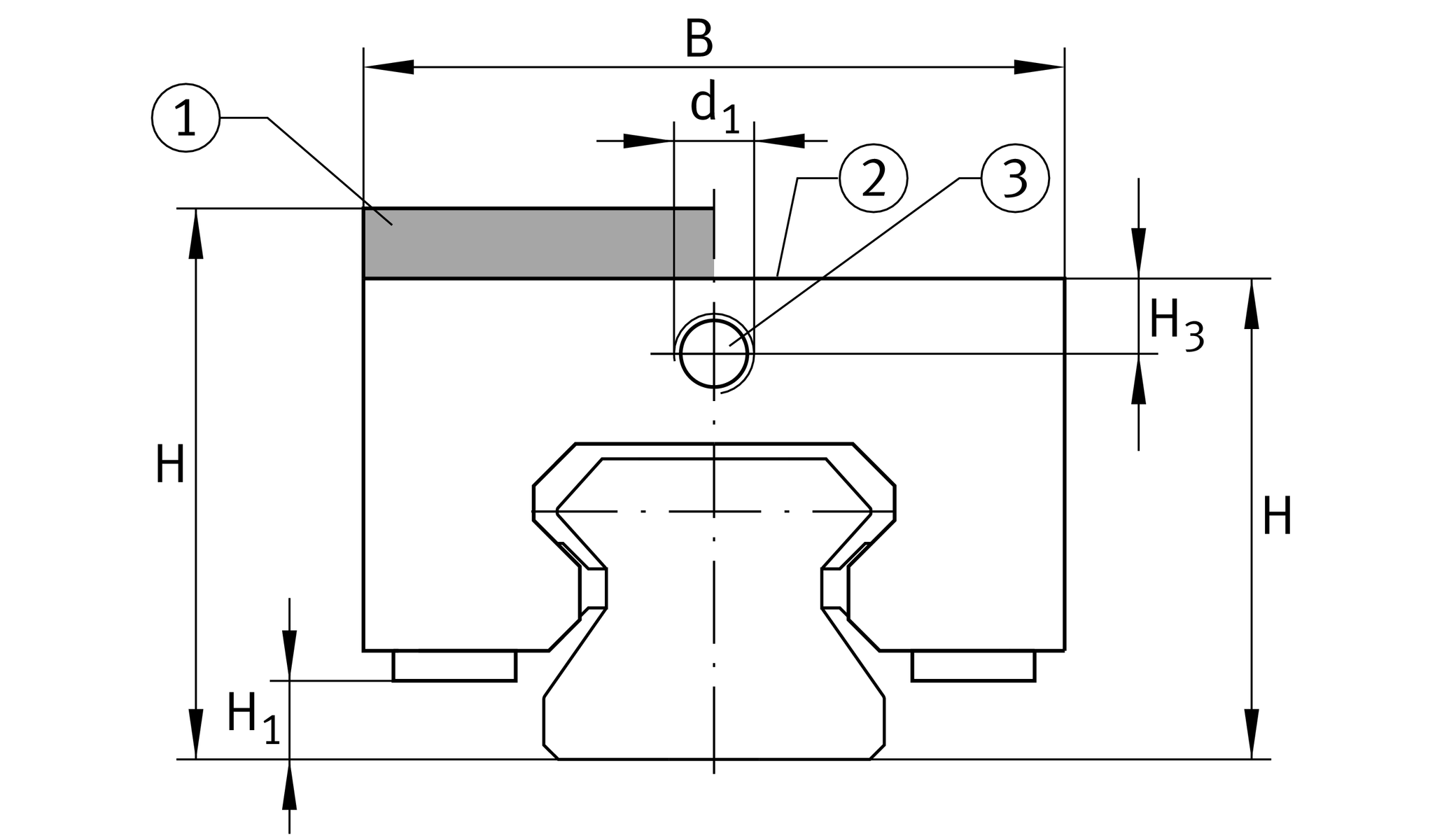
Main Dimensions & Performance Data
H
70 mm
height sytem
without
adapter plate
B
99 mm
width of braking and clamping element
L
170 mm
length braking and clamping element
5,100 N
clamping force 1
≈m
7.25 kg
Weight

Dimensions
JB
80 mm
hole pattern
JC
72 mm
hole pattern
A1
18 mm
distance
JL
138 mm
hole pattern
H1
17 mm
space (system)
H3
11.75 mm
mounting dimension
AL2
6 mm
distance
d1
M10x1
size thread
G2
M12
size thread above for DIN ISO 4762-12.9
MA
144 Nm
tightening torque above 2

Your current product variant
Size code55
VersionD
Oil connectorSOOil feed from above
Thêm vào yêu cầu báo giá