PRODUCTS

  • Home
  • Giới thiệu sản phẩm

INA
BKE.TSX55-D-H-SO
Braking/clamping element BKE.TSX55-D-H-SO
Thêm vào yêu cầu báo giá
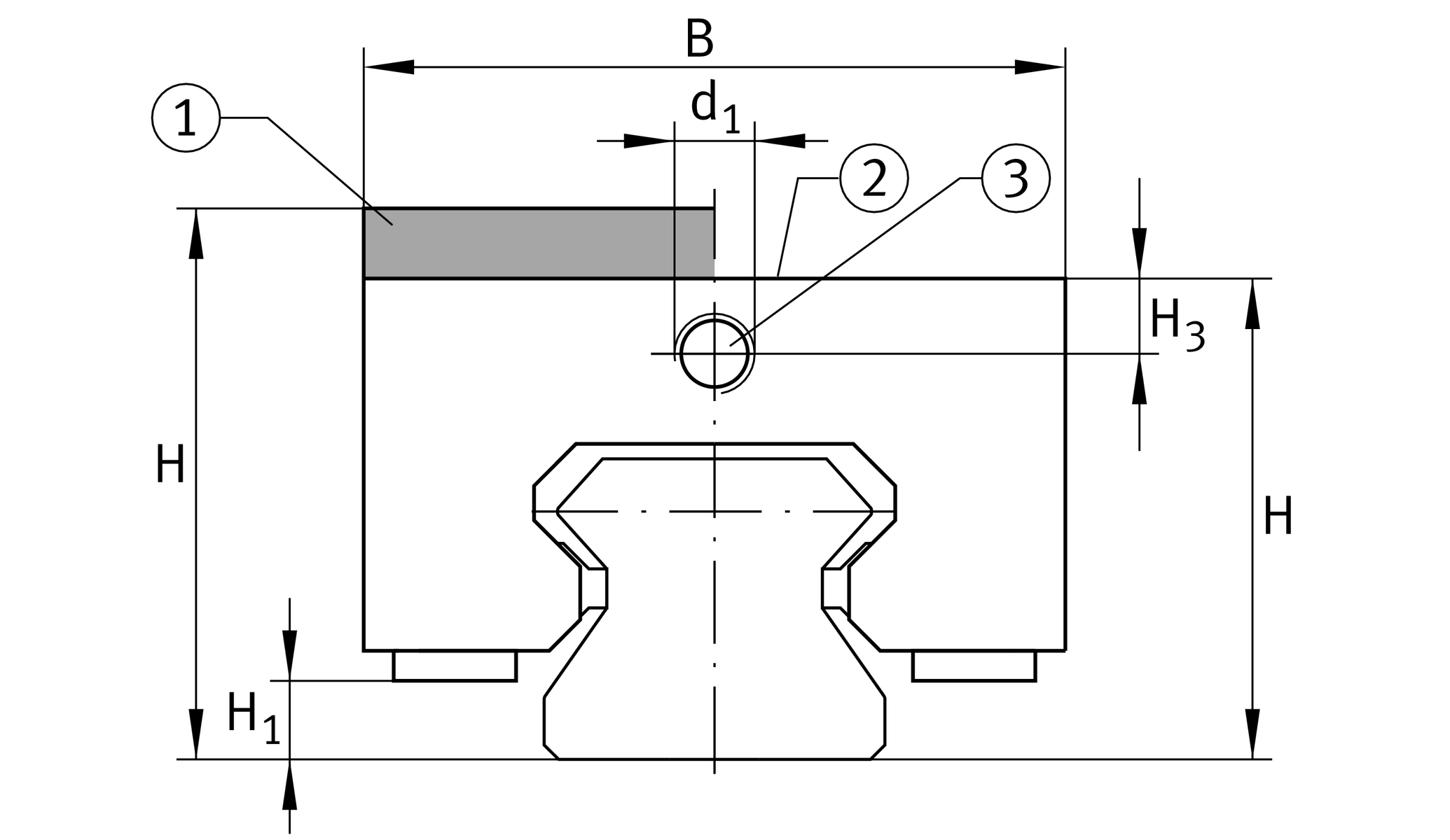
Main Dimensions & Performance Data
H
80 mm
height sytem
with
adapter plate
B
99 mm
width of braking and clamping element
L
170 mm
length braking and clamping element
5,100 N
clamping force 1
≈m
8.1 kg
Weight

Dimensions
JB
80 mm
hole pattern
JC
72 mm
hole pattern
A1
18 mm
distance
JL
138 mm
hole pattern
C7
6 mm
distance
H1
17 mm
space (system)
H3
11.75 mm
mounting dimension
AL2
6 mm
distance
d1
M10x1
size thread
SO
7x1,5
O-ring 2
6 mm
max. diameter of the oil feed hole 3
G2
M12
size thread above for DIN ISO 4762-12.9
MA
144 Nm
tightening torque above 4

Your current product variant
Size code55
VersionD
DesignH
Oil connectorSOOil feed from above
Thêm vào yêu cầu báo giá