PRODUCTS

  • Home
  • Giới thiệu sản phẩm

INA
AS0515
Axial bearing washer AS0515
Thêm vào yêu cầu báo giá
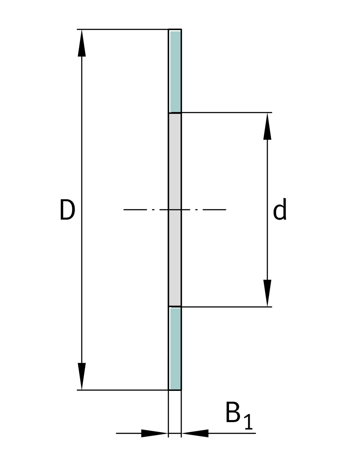
Main Dimensions & Performance Data
d
5 mm
Bore diameter bearing washer
D
15 mm
Outside diameter bearing washer
B1
1 mm
Height bearing washer
≈m
1.2 g
Weight
Thêm vào yêu cầu báo giá