PRODUCTS

  • Home
  • Giới thiệu sản phẩm

INA
AS0414
Axial bearing washer AS0414
Thêm vào yêu cầu báo giá
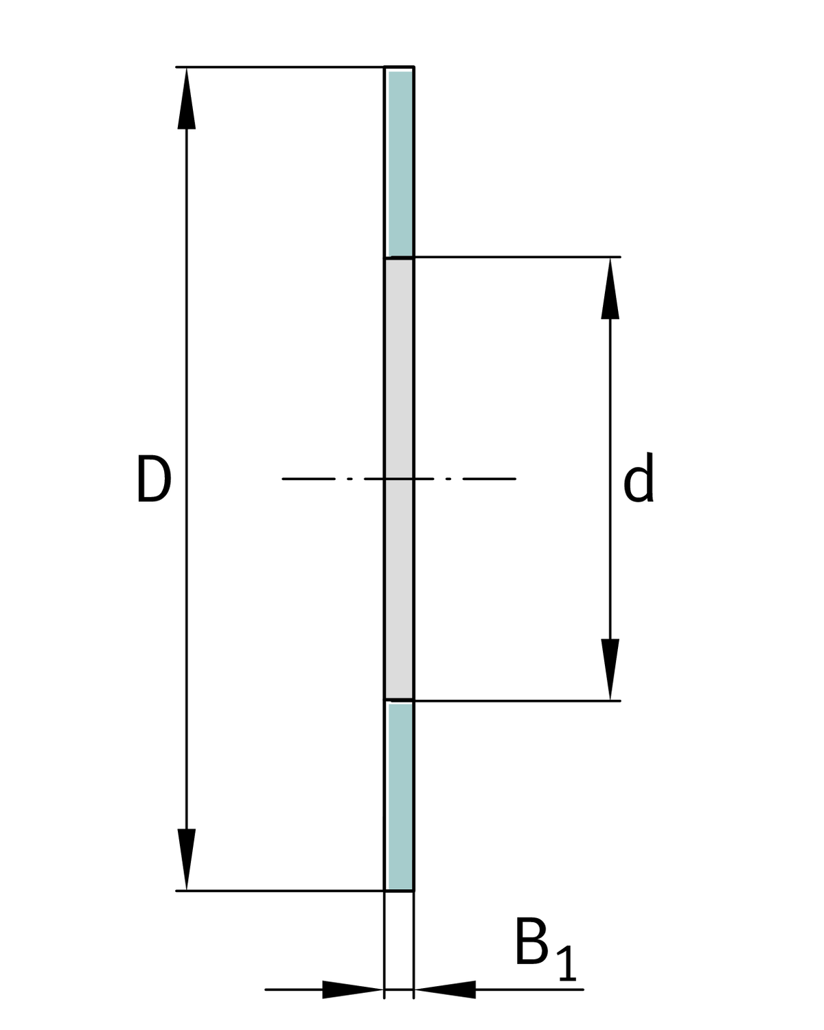
Main Dimensions & Performance Data
d
4 mm
Bore diameter bearing washer
D
14 mm
Outside diameter bearing washer
B1
1 mm
Height bearing washer
≈m
1.03 g
Weight
Thêm vào yêu cầu báo giá