PRODUCTS

  • Home
  • Giới thiệu sản phẩm

INA
AS75100
Axial bearing washer AS75100
Thêm vào yêu cầu báo giá
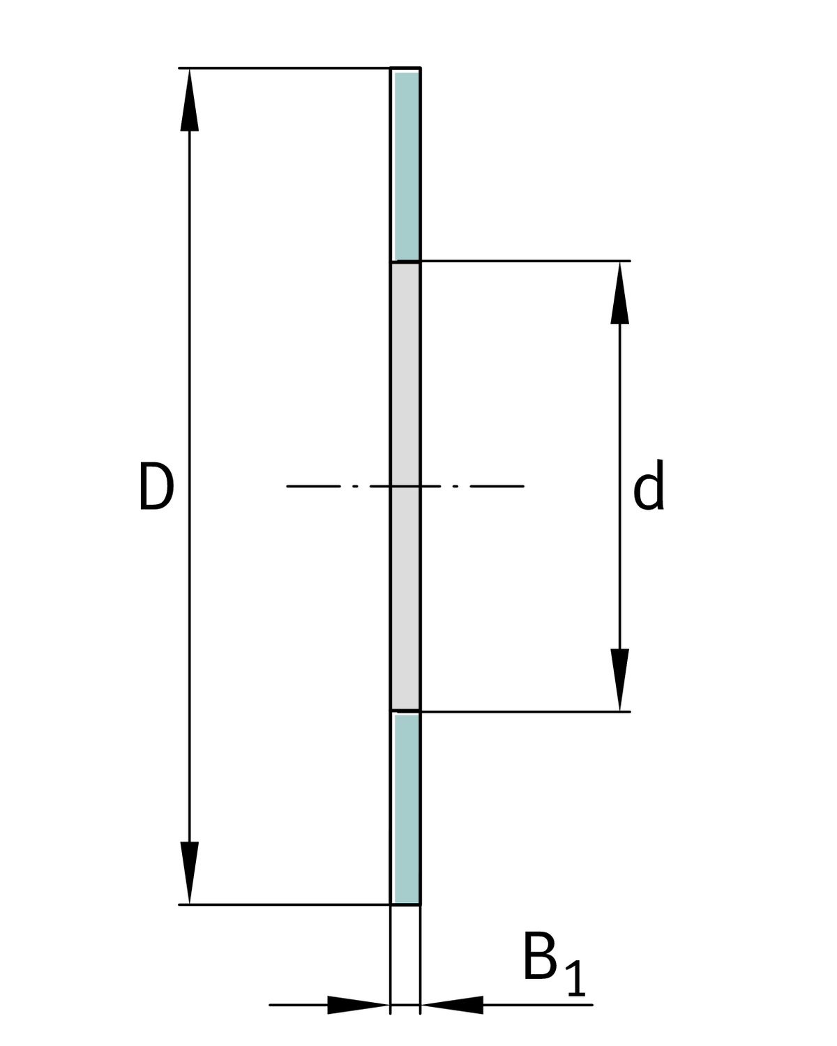
Main Dimensions & Performance Data
d
75 mm
Bore diameter bearing washer
D
100 mm
Outside diameter bearing washer
B1
1 mm
Height bearing washer
≈m
25.7 g
Weight
Thêm vào yêu cầu báo giá