PRODUCTS

  • Home
  • Giới thiệu sản phẩm

INA
AS80105
Axial bearing washer AS80105
Thêm vào yêu cầu báo giá
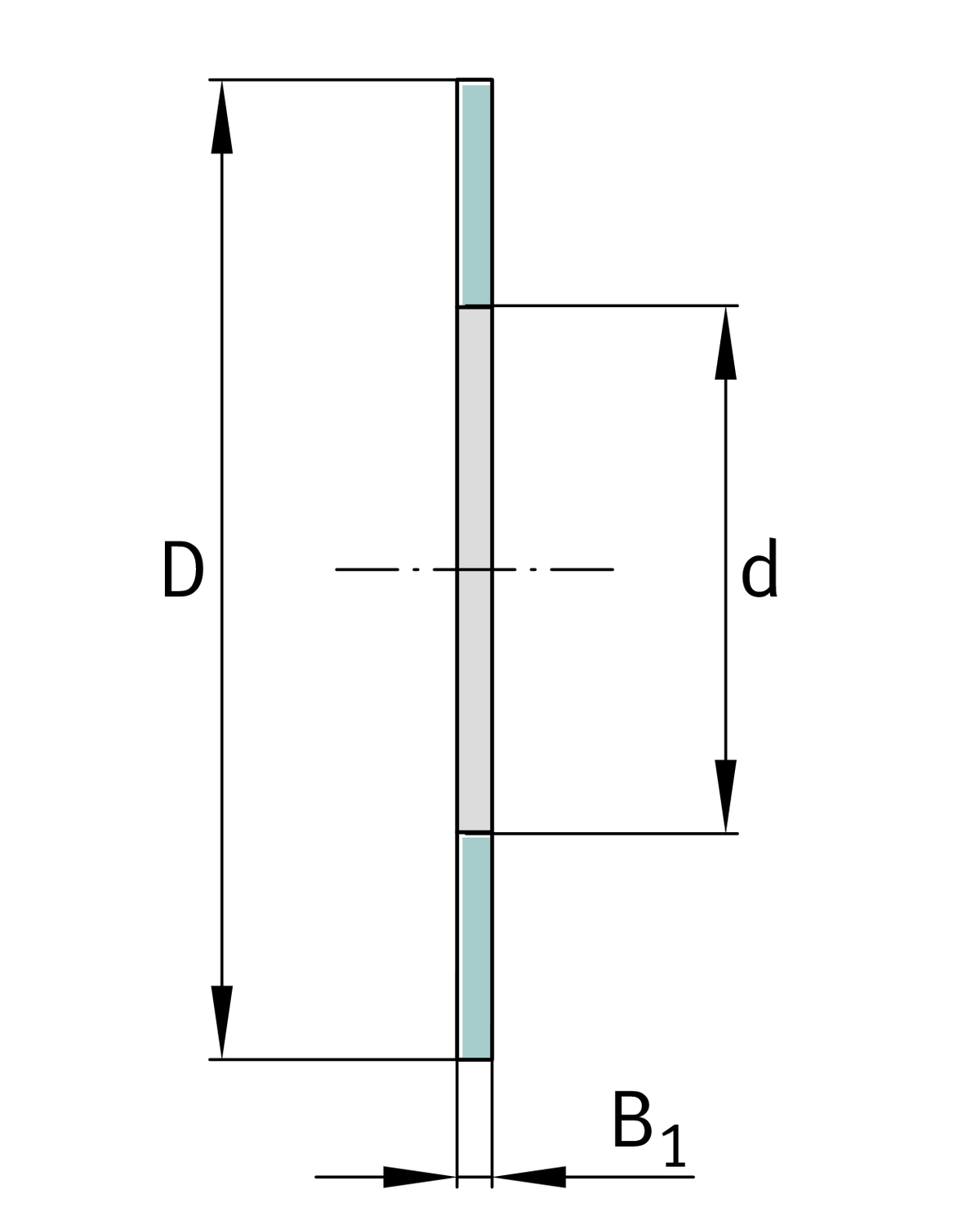
Main Dimensions & Performance Data
d
80 mm
Bore diameter bearing washer
D
105 mm
Outside diameter bearing washer
B1
1 mm
Height bearing washer
Thêm vào yêu cầu báo giá