PRODUCTS

  • Home
  • Giới thiệu sản phẩm

INA
TME45-XL
Flanged housing unit TME45-XL
Thêm vào yêu cầu báo giá
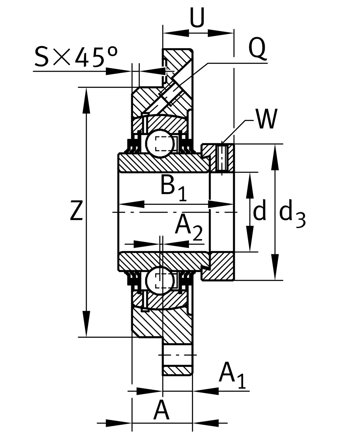
Main Dimensions & Performance Data
d
45 mm
Bore diameter
H
155 mm
Height flange
B1
56.5 mm
Locking collar total width
U
32.9 mm
Total height unit
Cr
32,500 N
Basic dynamic load rating, radial
C0r
20,400 N
Basic static load rating, radial
Cur
970 N
Fatigue load limit, radial
≈m
1.978 kg
Weight

Mounting dimensions
J
130 mm
Pitch circle diameter (holes)
N
14 mm
Fixing bore
Z
105 mm
Diameter spigot
h8
Diameter spigot clearance
n
4
Number of screwing holes

Dimensions
A
25 mm
Height housing
A1
12 mm
Thickness of flange
A2
2 mm
Distance raceway
S
2 mm
Chamfer width
Q
M6
Connection thread for lubrication

Additional information
1
Number of housings
GG.ME09
Housing
GE45-XL-KTT-B
Bearing designation

Temperature range
Tmin
-20 °C
Operating temperature min.
Tmax
120 °C
Operating temperature max.

Your current product variant
MaterialGGGrey cast iron
Thêm vào yêu cầu báo giá