PRODUCTS
- Home
- Giới thiệu sản phẩm
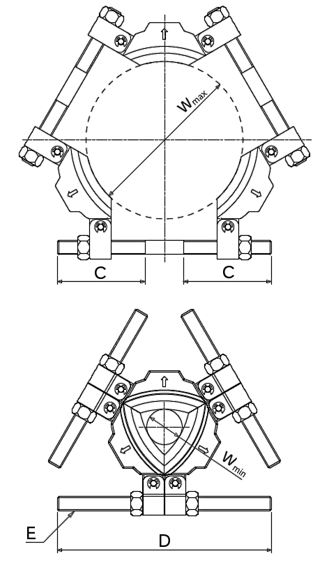
| wmin | 50 mm | Grip width, min. |
| wmax | 210 mm | Grip width, max. |
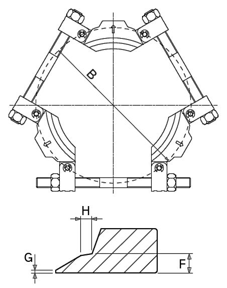
| Bmax | 280 mm | |
| C | 117 mm | |
| D | 285 mm | |
| E | 7/8”-14UNF | |
| F | 10 mm | |
| G | 2 mm | |
| H | 9 mm | |
| FZ max | 75 kN | max. permissible pulling force |
| ≈m | 5.5 kg | Weight |
in combination with puller: HP/HSP63, 83 | Usability |
| Series | TSP | Series TSP |