PRODUCTS

  • Home
  • Giới thiệu sản phẩm

FAG
22210-E1-XL-C4
Spherical Roller Bearing 22210-E1-XL-C4
Thêm vào yêu cầu báo giá
Main Dimensions & Performance Data
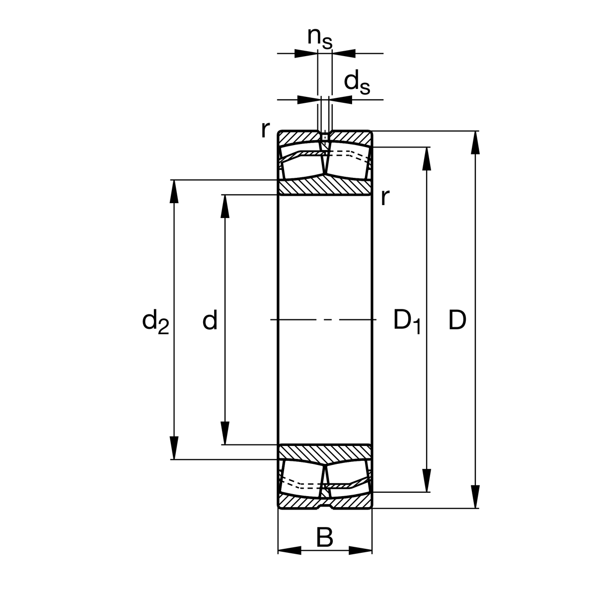
d
50 mm
Bore diameter
D
90 mm
Outside diameter
B
23 mm
Width
Cr
109,000 N
Basic dynamic load rating, radial
C0r
107,000 N
Basic static load rating, radial
Cur
14,600 N
Fatigue load limit, radial
nG
9,800 1/min
Limiting speed
nϑr
5,100 1/min
Reference speed
≈m
0.585 kg
Weight

Mounting dimensions
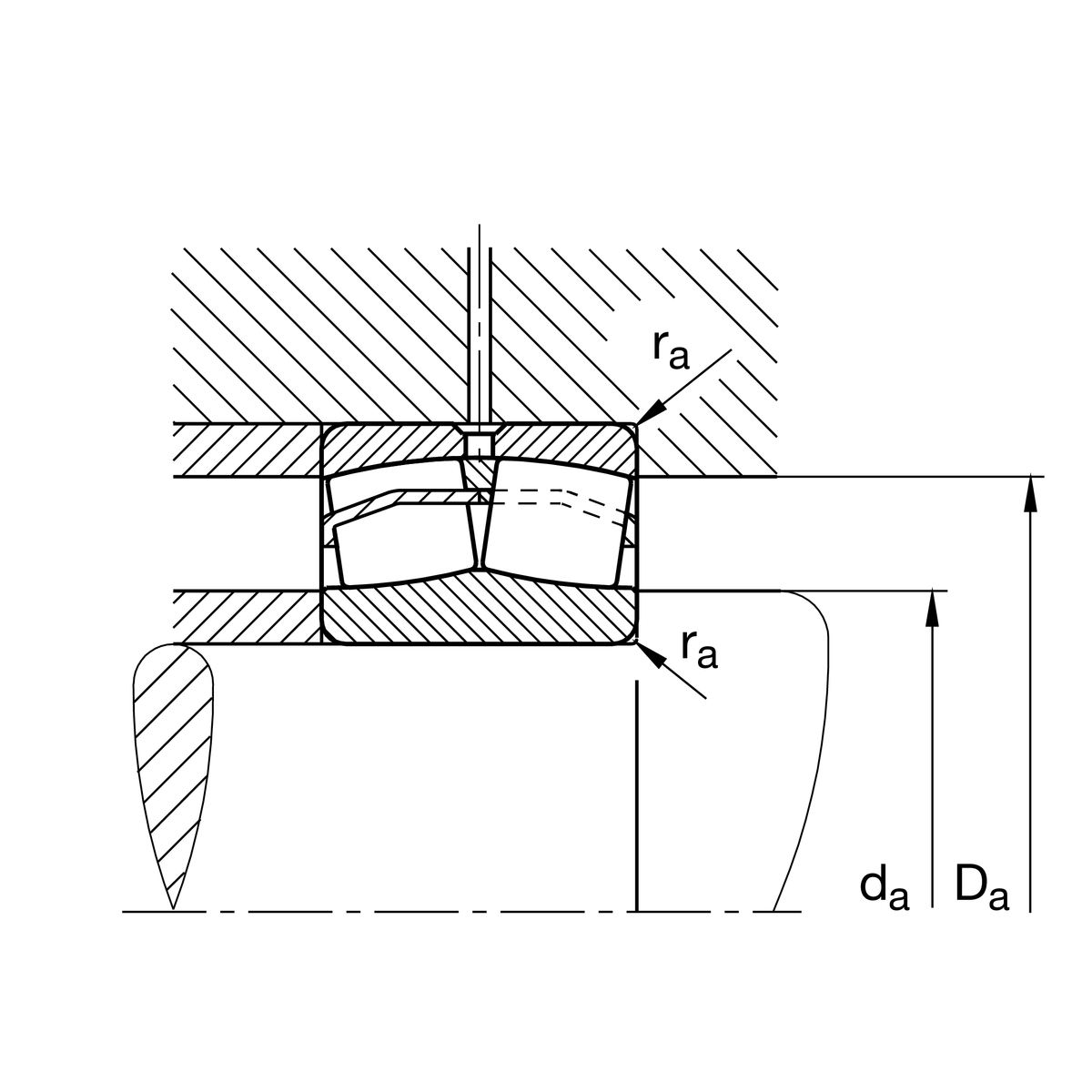
da min
57 mm
Minimum diameter shaft shoulder
Da max
83 mm
Maximum diameter of housing shoulder
ra max
1 mm
Maximum recess radius

Dimensions
rmin
1.1 mm
Minimum chamfer dimension
D1
80.8 mm
Bore diameter outer ring
d2
59.9 mm
Raceway diameter of the inner ring
ds
3.2 mm
Diameter lubrication hole
ns
4.8 mm
Width of lubricating groove

Temperature range
Tmin
-30 °C
Operating temperature min.
Tmax
200 °C
Operating temperature max.

Calculation factors
e
0.23
Limiting value of Fa/Fr for the applicability of diff. Values of factors X and Y
Y1
2.95
Dynamic axial load factor
Y2
4.4
Dynamic axial load factor
Y0
2.89
Static axial load factor

Your current product variant
DesignE1without central rip
Bore typeZCylindrical
CageJPASheet metal cage
Radial internal clearanceC4 (Group 4)Internal clearance larger than C3
Relubrication featureStandard
Thêm vào yêu cầu báo giá