PRODUCTS
- Home
- Giới thiệu sản phẩm
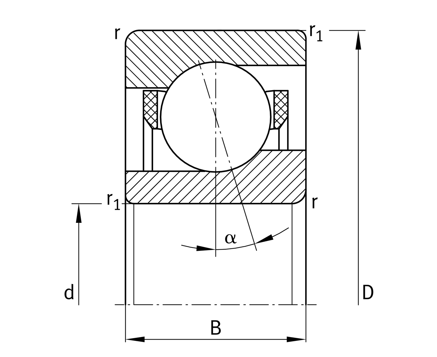
| d | 55 mm | Bore diameter |
| D | 80 mm | Outside diameter |
| B | 13 mm | Width |
| Cr | 42,500 N | Basic dynamic load rating, radial |
| C0r | 12,700 N | Basic static load rating, radial |
| Cur | 650 N | Fatigue load limit, radial |
| nG Grease | 30,000 1/min | Limiting speed for grease lubrication |
| nG Oil | 45,000 1/min | Limiting speed for oil lubrication |
| ≈m | 0.13 kg | Weight |
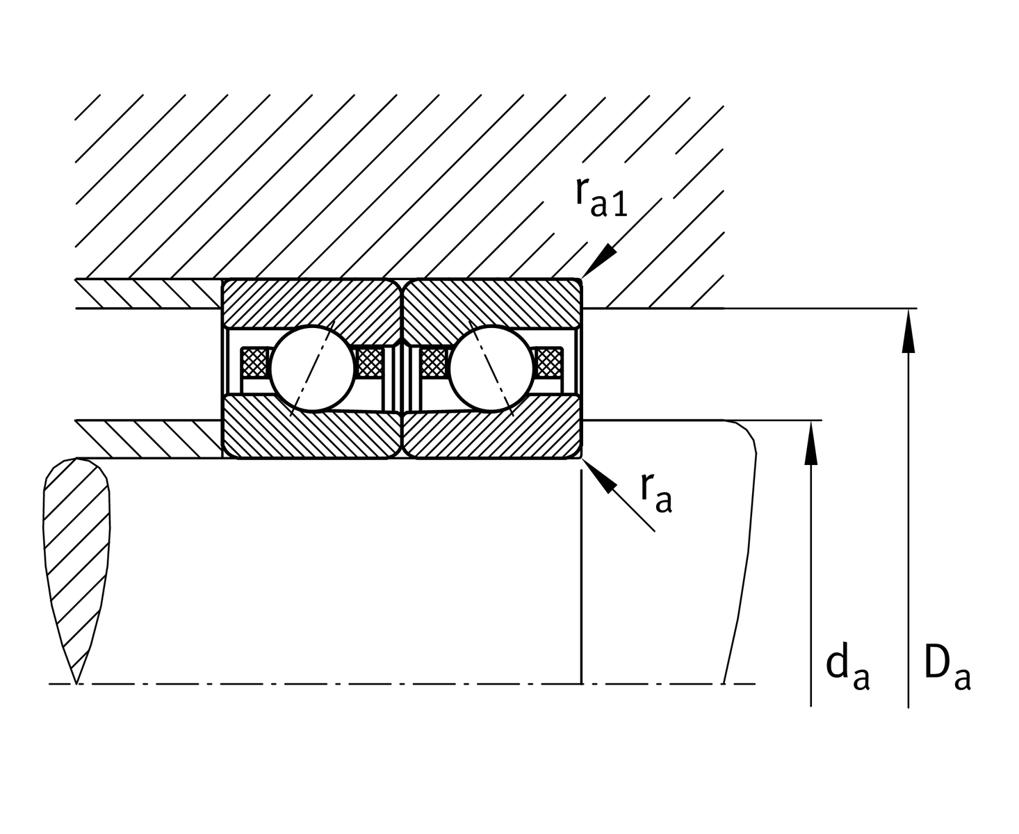
| da | 60 mm | Diameter shaft shoulder |
| da | h12 | Diameter shaft shoulder clearance |
| Da | 75.5 mm | Shoulder diameter outer ring |
| Da | H12 | Shoulder diameter outer ring clearance |
| ra max | 0.6 mm | Maximum recess radius |
| ra1 max | 0.3 mm | Maximum recess radius |
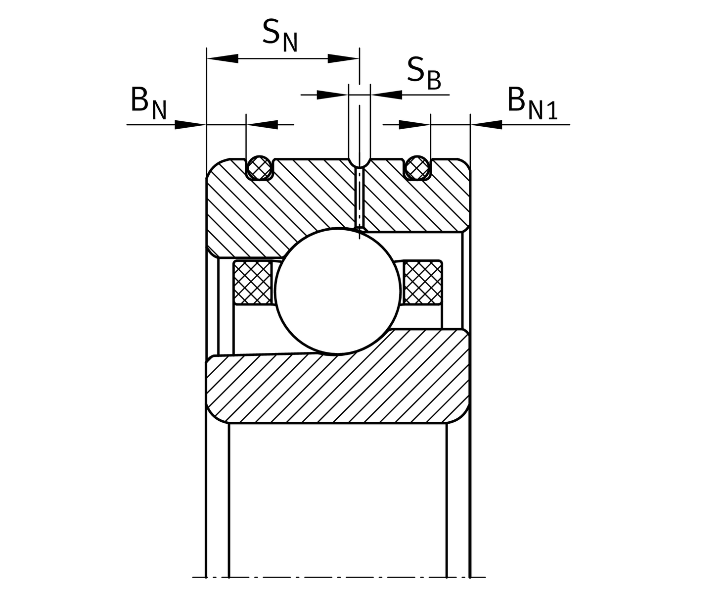
| BN | 2.8 mm | Distance ring grooves |
| BN1 | 2 mm | Distance ring grooves |
| SN | 7.6 mm | Distance to lubrication hole |
| SB | 1.4 mm | Width of lubricating groove |
| a | 22.2 mm | Distance between the apexes of the pressure cones |
| rmin | 1 mm | Minimum chamfer dimension |
| r1 min | 0.6 mm | Minimum chamfer dimension |
| α | 25 ° | Contact angle |
| Tmin | -30 °C | Operating temperature min. |
| Tmax | 100 °C | Operating temperature max. |
| FV L | 95 N | Preload force light |
| FV M | 249 N | Preload force medium |
| FV H | 516 N | Preload force heavy |
| KaE L | 272 N | Lift-off force light |
| KaE M | 718 N | Lift-off force medium |
| KaE H | 1,509 N | Lift-off force heavy |
| ca L | 100 N/µm | Axial rigidity light |
| ca M | 139 N/µm | Axial rigidity medium |
| ca H | 182 N/µm | Axial rigidity heavy |
| Contact angle | E | Contact angle 25° |
| Lubricant | Without | |
| Sealing | Without | |
| Outer shape | DLR | Direct lubrication, annular slots with O rings |
| Cage | T | Laminated fabric cage |
| Tolerance class | P4S | tolerance class P4S, FAG standard better than P4 to DIN 620 |
| Arrangement bearing set | U | Single bearing |
| Preload | L | preload light |