PRODUCTS

  • Home
  • Giới thiệu sản phẩm

INA
AS5578
Axial bearing washer AS5578
Thêm vào yêu cầu báo giá
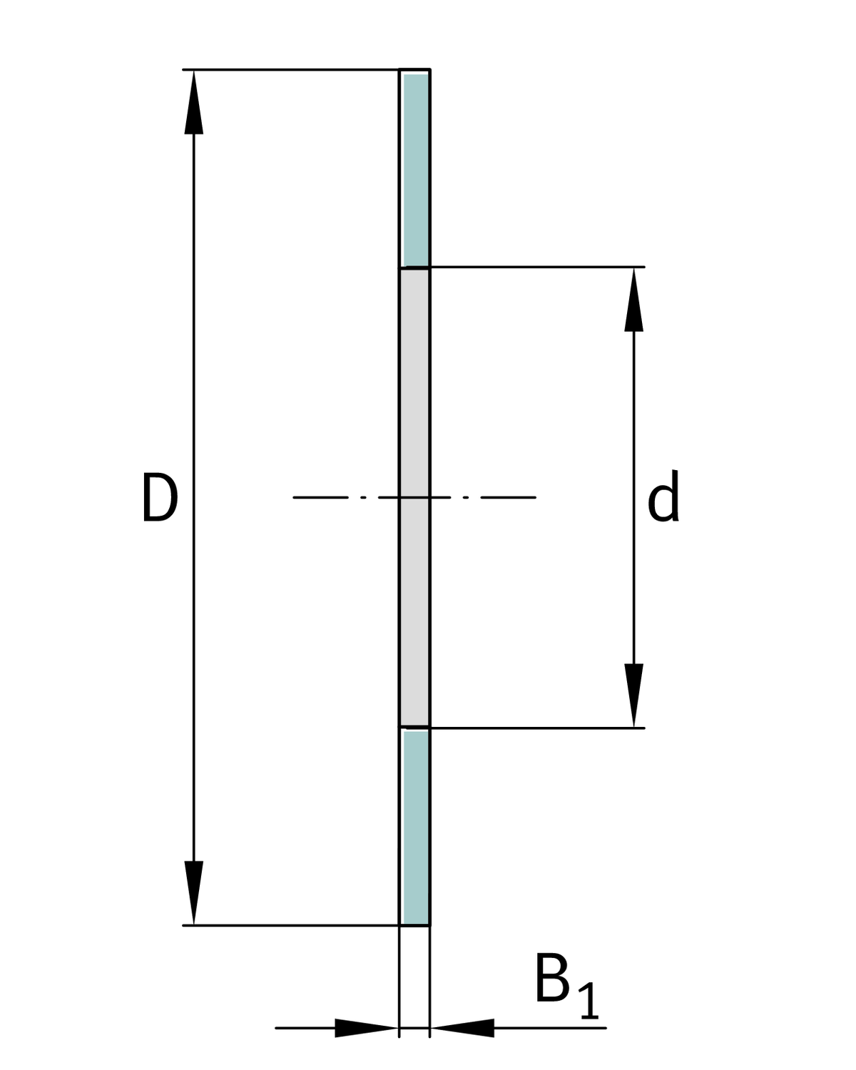
Main Dimensions & Performance Data
d
55 mm
Bore diameter bearing washer
D
78 mm
Outside diameter bearing washer
B1
1 mm
Height bearing washer
≈m
18 g
Weight
Thêm vào yêu cầu báo giá