PRODUCTS

  • Home
  • Giới thiệu sản phẩm

INA
TCJ45-XL
Flanged housing unit TCJ45-XL
Thêm vào yêu cầu báo giá
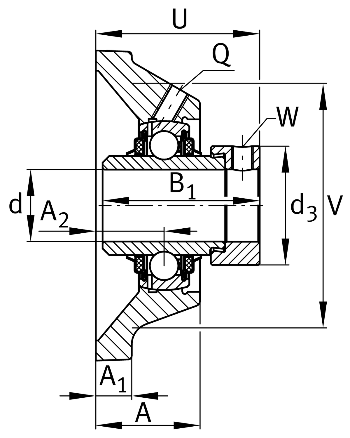
Main Dimensions & Performance Data
d
45 mm
Bore diameter
L
137 mm
Flange width
U
59.1 mm
Total height unit
Cr
34,500 N
Basic dynamic load rating, radial
C0r
20,400 N
Basic static load rating, radial
Cur
970 N
Fatigue load limit, radial
≈m
2.24 kg
Weight

Mounting dimensions
J
105 mm
Distance fixing bore
N
14 mm
Fixing bore
W
5 mm
Width across flats
n
4
Number of screwing holes

Dimensions
A
35 mm
Height housing
A1
13 mm
Thickness of flange
A2
24 mm
Distance raceway
B1
56.5 mm
Locking collar total width
V
116 mm
Shoulder diameter housing
Q
M6
Connection thread for lubrication
d3
63 mm
Outside diameter locking device

Additional information
1
Number of housings
CJ09
Housing
GE45-XL-KTT-B
Bearing designation

Temperature range
Tmin
-20 °C
Operating temperature min.
Tmax
120 °C
Operating temperature max.

Your current product variant
MaterialGGGrey cast iron
Thêm vào yêu cầu báo giá