PRODUCTS

  • Home
  • Giới thiệu sản phẩm

INA
AS4565
Axial bearing washer AS4565
Thêm vào yêu cầu báo giá
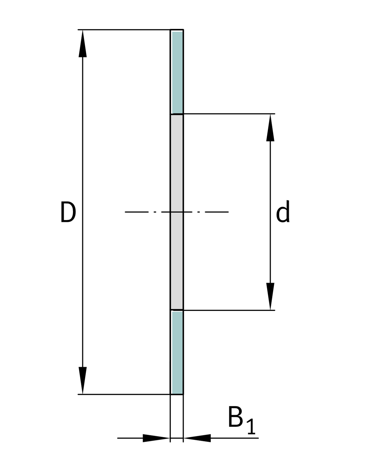
Main Dimensions & Performance Data
d
45 mm
Bore diameter bearing washer
D
65 mm
Outside diameter bearing washer
B1
1 mm
Height bearing washer
≈m
12.9 g
Weight
Thêm vào yêu cầu báo giá