PRODUCTS

  • Home
  • Giới thiệu sản phẩm

FAG
22309-E1-XL-H40-T41A
Spherical Roller Bearing 22309-E1-XL-H40-T41A
Thêm vào yêu cầu báo giá
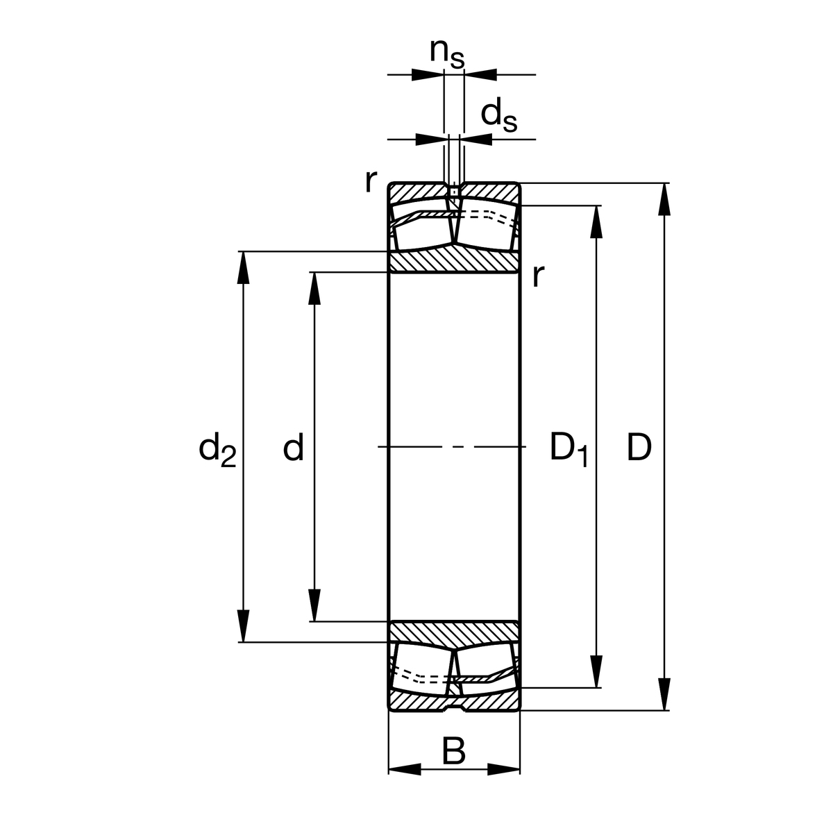
Main Dimensions & Performance Data
d
45 mm
Bore diameter
D
100 mm
Outside diameter
B
36 mm
Width
Cr
187,000 N
Basic dynamic load rating, radial
C0r
183,000 N
Basic static load rating, radial
Cur
16,500 N
Fatigue load limit, radial
nG
6,800 1/min
Limiting speed
nϑr
5,000 1/min
Reference speed
≈m
1.381 kg
Weight

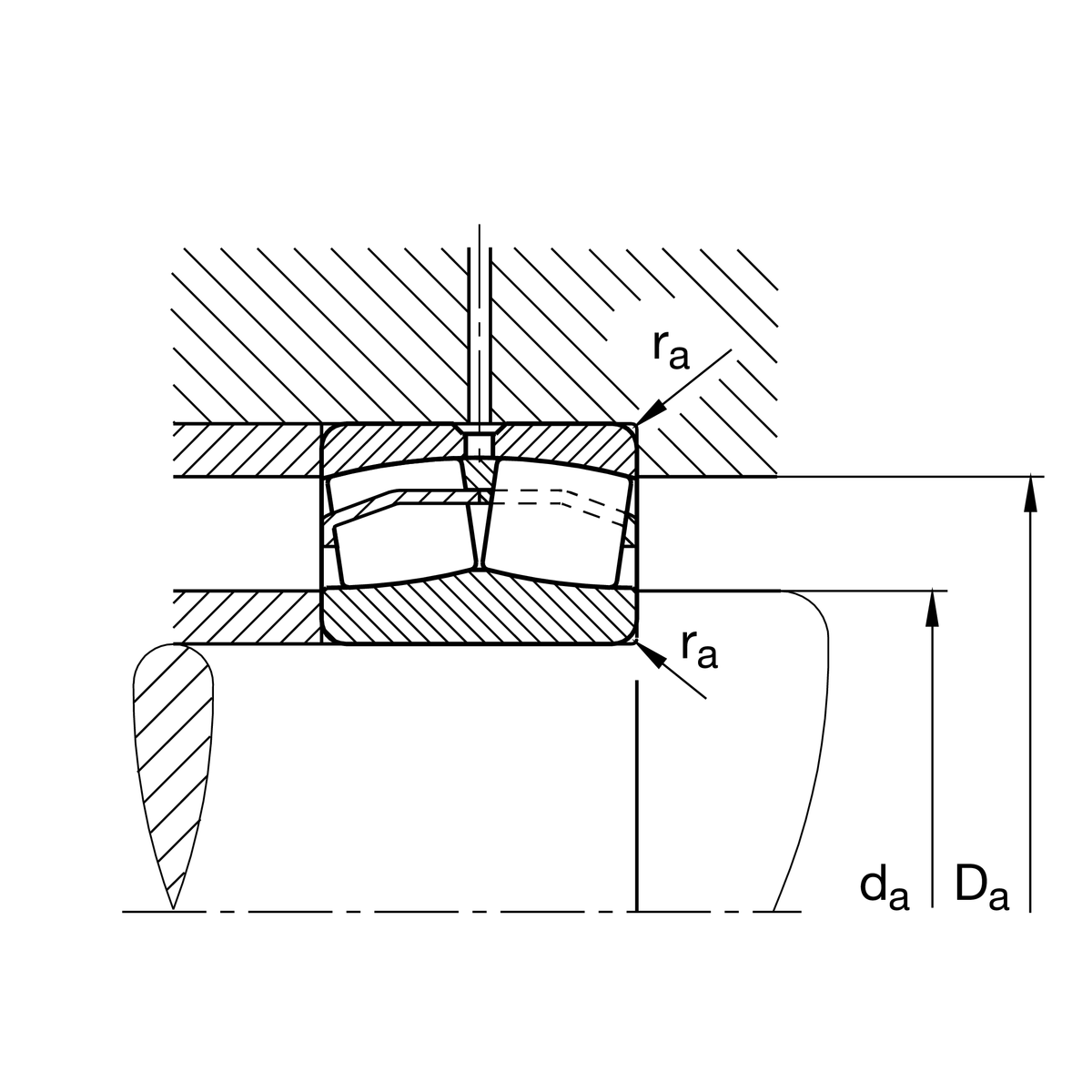
Mounting dimensions
da min
54 mm
Minimum diameter shaft shoulder
Da max
91 mm
Maximum diameter of housing shoulder
ra max
1.5 mm
Maximum recess radius

Dimensions
rmin
1.5 mm
Minimum chamfer dimension
D1
84.7 mm
Bore diameter outer ring
d2
58.9 mm
Raceway diameter of the inner ring

Temperature range
Tmin
-30 °C
Operating temperature min.
Tmax
200 °C
Operating temperature max.

Calculation factors
e
0.36
Limiting value of Fa/Fr for the applicability of diff. Values of factors X and Y
Y1
1.9
Dynamic axial load factor
Y2
2.83
Dynamic axial load factor
Y0
1.86
Static axial load factor

Your current product variant
DesignE1without central rip
Bore typeZCylindrical
CageJPASheet metal cage
Radial internal clearanceC4 (Group 4)Internal clearance larger than C3
Relubrication featureH40Without lubricating groove and holes
Spherical roller bearing for vibrating screensT41Afor vibrating screens
Thêm vào yêu cầu báo giá