PRODUCTS

  • Home
  • Giới thiệu sản phẩm

FAG
21309-E1-XL-TVPB-C3
Spherical Roller Bearing 21309-E1-XL-TVPB-C3
Thêm vào yêu cầu báo giá
Main Dimensions & Performance Data
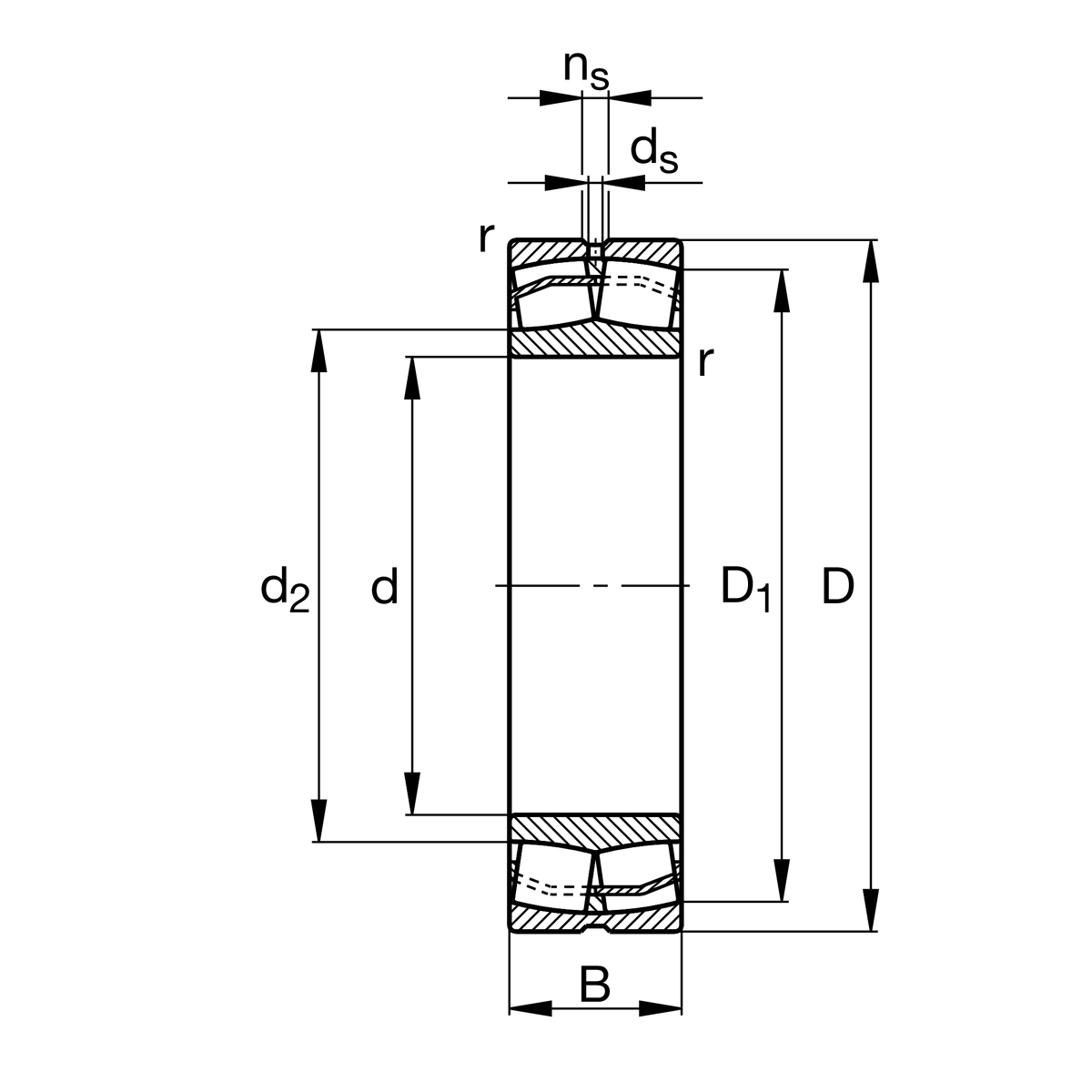
d
45 mm
Bore diameter
D
100 mm
Outside diameter
B
25 mm
Width
Cr
129,000 N
Basic dynamic load rating, radial
C0r
130,000 N
Basic static load rating, radial
Cur
17,700 N
Fatigue load limit, radial
nG
9,000 1/min
Limiting speed
nϑr
4,750 1/min
Reference speed
≈m
0.914 kg
Weight

Mounting dimensions
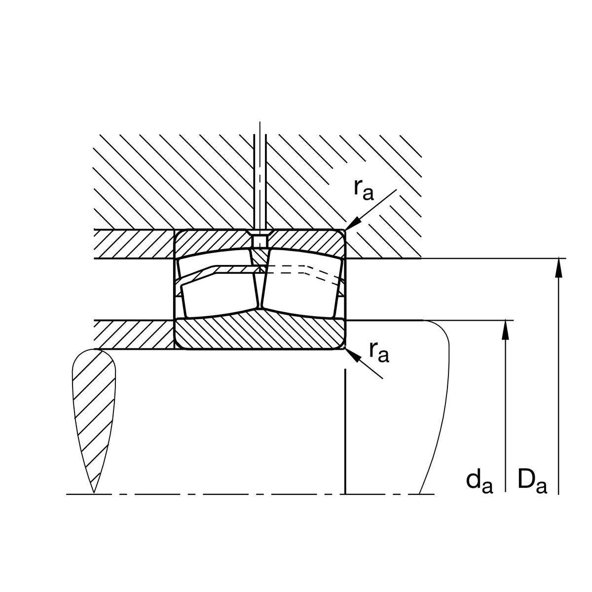
da min
54 mm
Minimum diameter shaft shoulder
Da max
91 mm
Maximum diameter of housing shoulder
ra max
1.5 mm
Maximum recess radius

Dimensions
rmin
1.5 mm
Minimum chamfer dimension
D1
89.8 mm
Bore diameter outer ring
d2
67.6 mm
Raceway diameter of the inner ring
ds
3.2 mm
Diameter lubrication hole
ns
4.8 mm
Width of lubricating groove

Temperature range
Tmin
-30 °C
Operating temperature min.
Tmax
120 °C
Operating temperature max.

Calculation factors
e
0.21
Limiting value of Fa/Fr for the applicability of diff. Values of factors X and Y
Y1
3.17
Dynamic axial load factor
Y2
4.72
Dynamic axial load factor
Y0
3.1
Static axial load factor

Your current product variant
DesignE1without central rip
Bore typeZCylindrical
CageTVPBPlastic cage
Radial internal clearanceC3 (Group 3)Internal clearance larger than CN
Relubrication featureStandard
Thêm vào yêu cầu báo giá