PRODUCTS

  • Home
  • Giới thiệu sản phẩm

FAG
22230-E1-XL>A
Spherical Roller Bearing 22230-E1-XL>A
Thêm vào yêu cầu báo giá
Main Dimensions & Performance Data
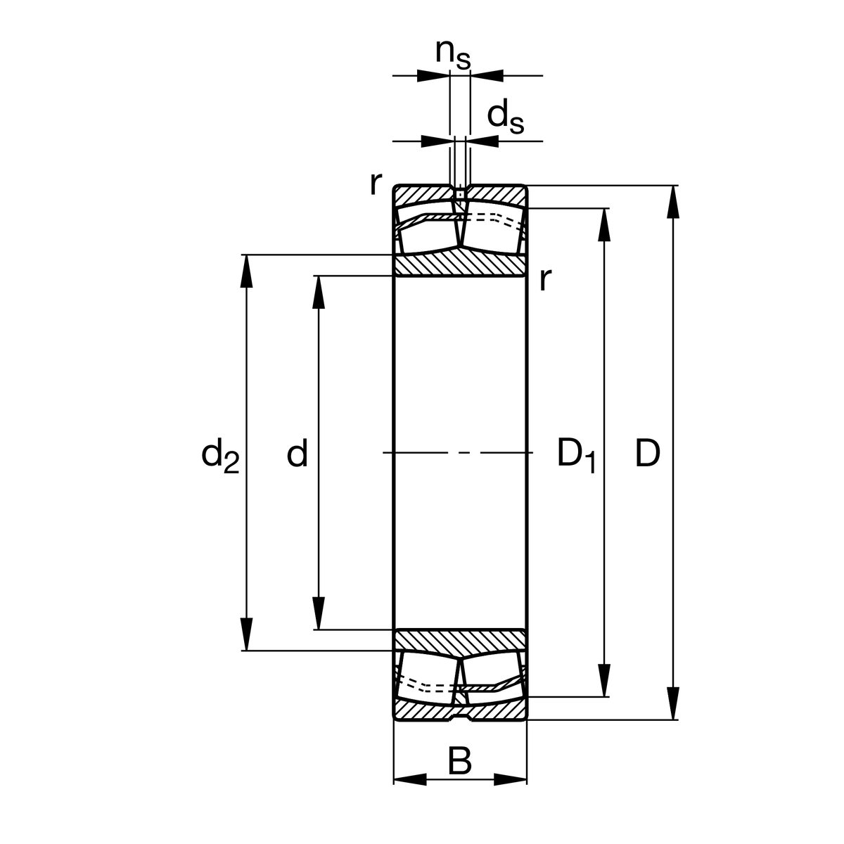
d
150 mm
Bore diameter
D
270 mm
Outside diameter
B
73 mm
Width
Cr
1,010,000 N
Basic dynamic load rating, radial
C0r
1,210,000 N
Basic static load rating, radial
Cur
114,000 N
Fatigue load limit, radial
nG
2,900 1/min
Limiting speed
nϑr
2,050 1/min
Reference speed
≈m
17.68 kg
Weight

Mounting dimensions
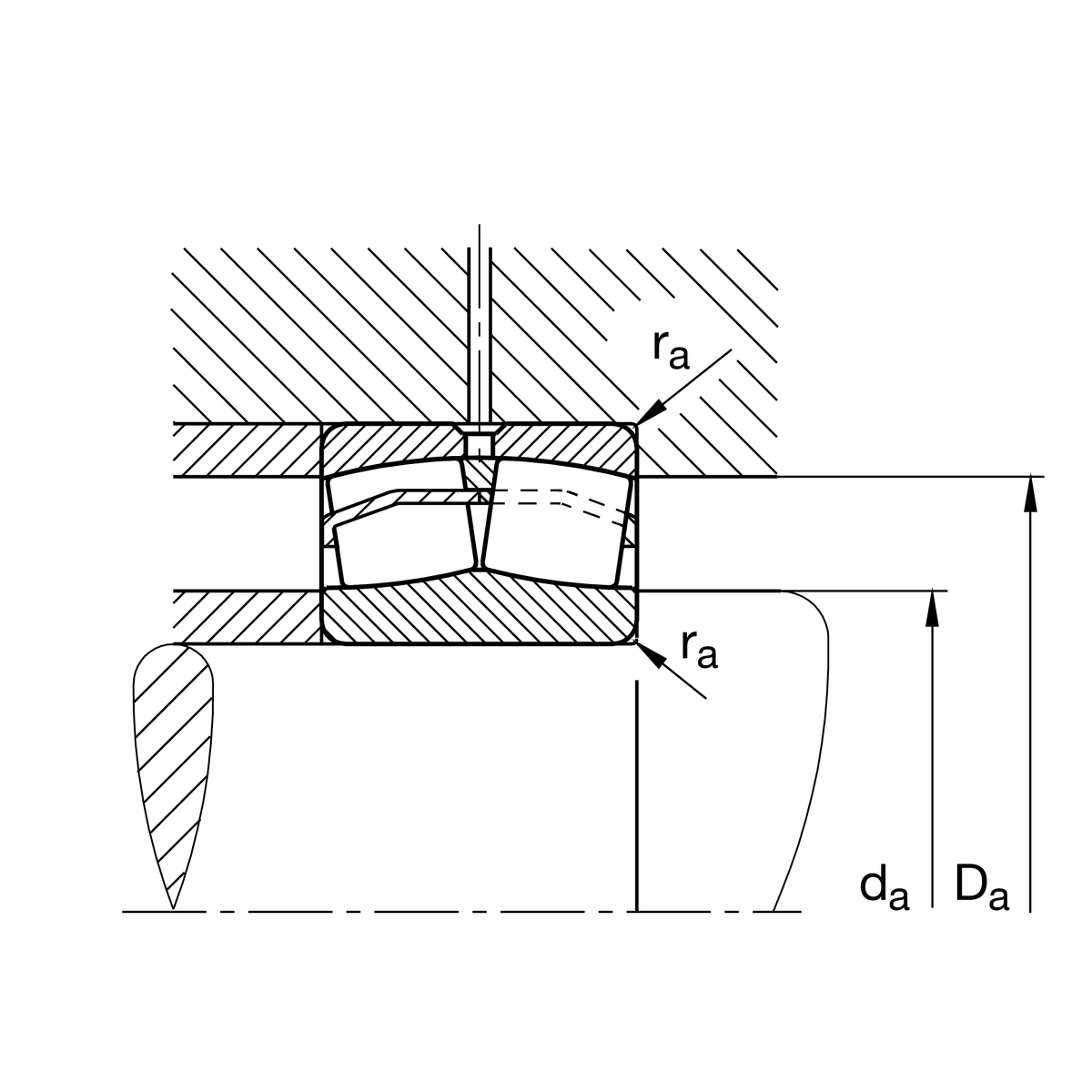
da min
164 mm
Minimum diameter shaft shoulder
Da max
256 mm
Maximum diameter of housing shoulder
ra max
2.5 mm
Maximum recess radius

Dimensions
rmin
3 mm
Minimum chamfer dimension
D1
240.8 mm
Bore diameter outer ring
d2
177.9 mm
Raceway diameter of the inner ring
ds
8 mm
Diameter lubrication hole
ns
15 mm
Width of lubricating groove

Temperature range
Tmin
-30 °C
Operating temperature min.
Tmax
200 °C
Operating temperature max.

Calculation factors
e
0.25
Limiting value of Fa/Fr for the applicability of diff. Values of factors X and Y
Y1
2.69
Dynamic axial load factor
Y2
4
Dynamic axial load factor
Y0
2.63
Static axial load factor

Your current product variant
DesignE1without central rip
Bore typeZCylindrical
CageJPASheet metal cage
Radial internal clearanceCN (Group N)Normal internal clearance
Relubrication featureStandard
Thêm vào yêu cầu báo giá