PRODUCTS
- Home
- Giới thiệu sản phẩm
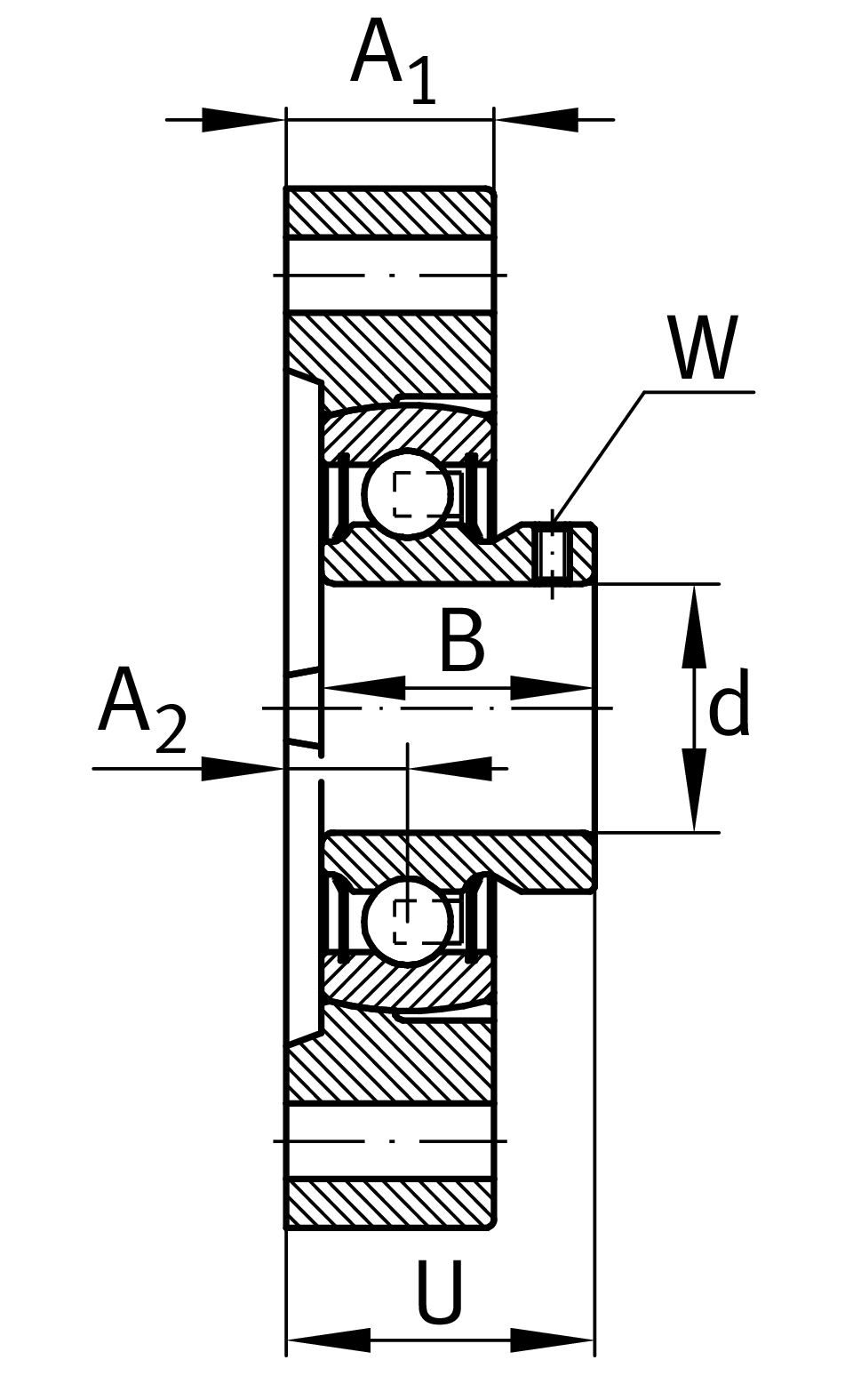
| d | 20 mm | Bore diameter |
| L | 66.5 mm | Flange width |
| H | 90.5 mm | Height flange |
| U | 27 mm | Total height unit |
| Cr | 13,600 N | Basic dynamic load rating, radial |
| C0r | 6,600 N | Basic static load rating, radial |
| Cur | 345 N | Fatigue load limit, radial |
| ≈m | 0.31 kg | Weight |
| J | 71.4 mm | Distance fixing bore |
| J | 71.4 mm | Pitch circle diameter (holes) |
| N | 9 mm | Fixing bore |
| n | 2 | Number of screwing holes |
| A1 | 17 mm | Thickness of flange |
| A2 | 9.5 mm | Distance raceway |
| d3 | 33 mm | Outside diameter eccentric locking collar |
1 | Number of housings | |
LCTE04 | Housing | |
AY20-XL-NPP-B | Bearing designation |
| Tmin | -20 °C | Operating temperature min. |
| Tmax | 120 °C | Operating temperature max. |
| Material | GG | Grey cast iron |