PRODUCTS

  • Home
  • Giới thiệu sản phẩm

FAG
22324-E1-XL-J30PC-C3
Spherical Roller Bearing 22324-E1-XL-J30PC-C3
Thêm vào yêu cầu báo giá
Main Dimensions & Performance Data
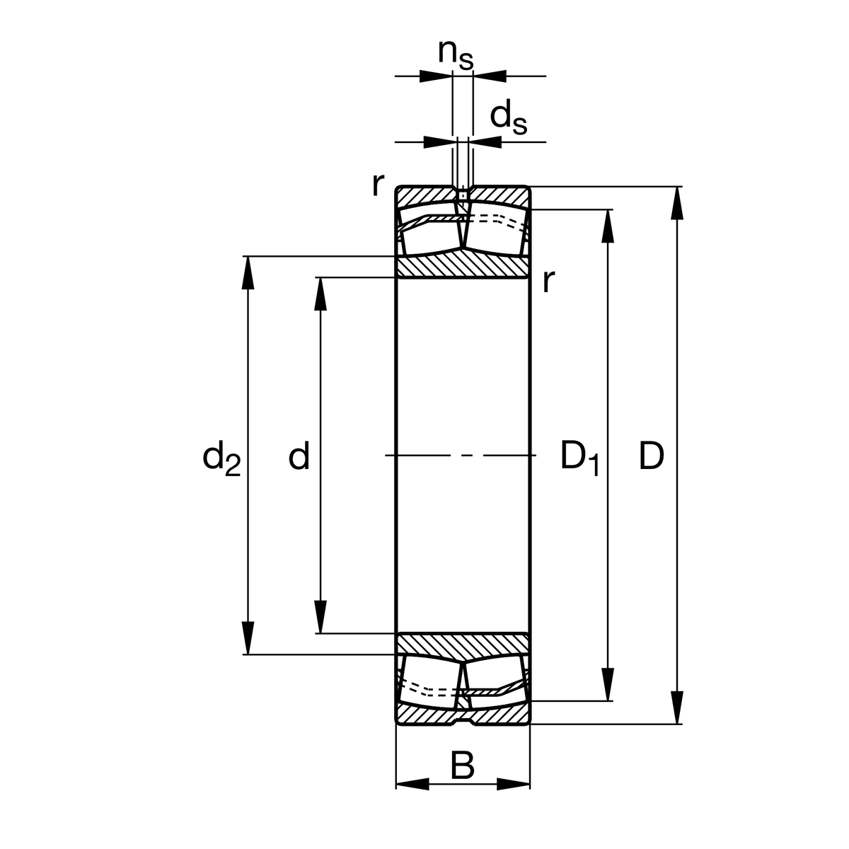
d
120 mm
Bore diameter
D
260 mm
Outside diameter
B
86 mm
Width
Cr
1,080,000 N
Basic dynamic load rating, radial
C0r
1,170,000 N
Basic static load rating, radial
Cur
105,000 N
Fatigue load limit, radial
nG
2,850 1/min
Limiting speed
nϑr
2,000 1/min
Reference speed
≈m
22.4 kg
Weight

Mounting dimensions
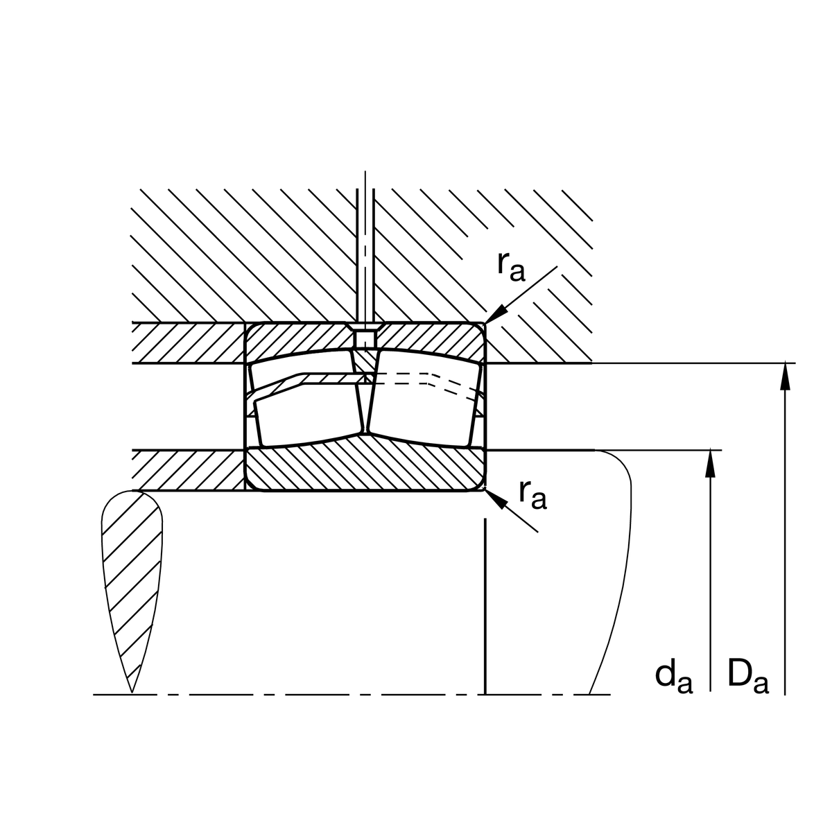
da min
134 mm
Minimum diameter shaft shoulder
Da max
246 mm
Maximum diameter of housing shoulder
ra max
2.5 mm
Maximum recess radius

Dimensions
rmin
3 mm
Minimum chamfer dimension
D1
222.4 mm
Bore diameter outer ring
d2
150.8 mm
Raceway diameter of the inner ring
ds
8 mm
Diameter lubrication hole
ns
15 mm
Width of lubricating groove

Temperature range
Tmin
-30 °C
Operating temperature min.
Tmax
200 °C
Operating temperature max.

Calculation factors
e
0.33
Limiting value of Fa/Fr for the applicability of diff. Values of factors X and Y
Y1
2.06
Dynamic axial load factor
Y2
3.06
Dynamic axial load factor
Y0
2.01
Static axial load factor

Your current product variant
DesignE1without central rip
Bore typeZCylindrical
CageJPASheet metal cage
Radial internal clearanceC3 (Group 3)Internal clearance larger than CN
Relubrication featureStandard
Thêm vào yêu cầu báo giá