PRODUCTS

  • Home
  • Giới thiệu sản phẩm

INA
BKE.TKVD35-H-SO
Braking/clamping element BKE.TKVD35-H-SO
Thêm vào yêu cầu báo giá
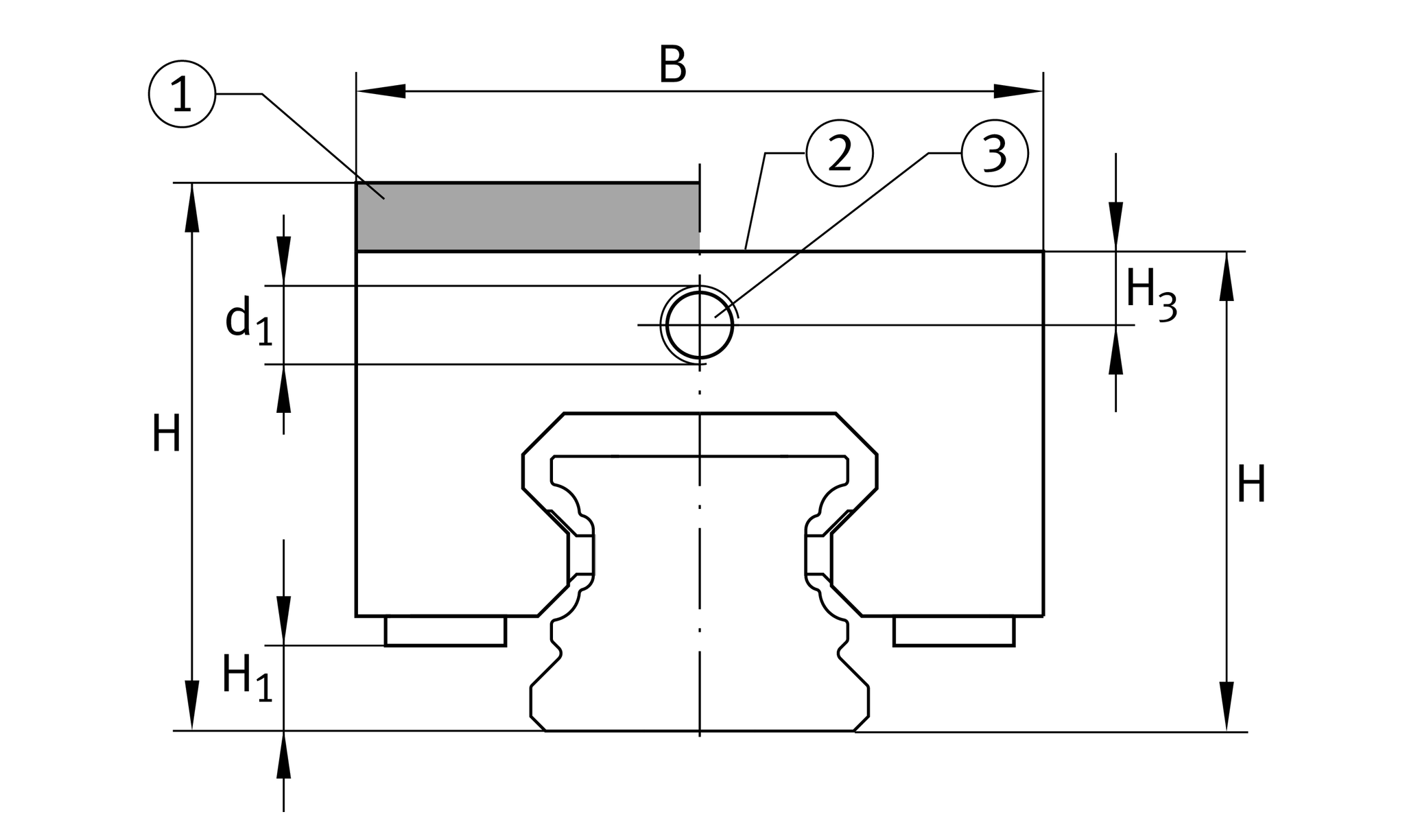
Main Dimensions & Performance Data
H
55 mm
height sytem
with
adapter plate
B
69 mm
width of braking and clamping element
L
120 mm
length braking and clamping element
2,800 N
clamping force 1
≈m
2.14 kg
Weight

Dimensions
JB
58 mm
hole pattern
JC
48 mm
hole pattern
A1
13.5 mm
distance
JL
100 mm
hole pattern
C7
0 mm
distance
H1
7.9 mm
space (system)
H3
8.1 mm
mounting dimension
AL2
5 mm
distance
d1
M8x1
size thread
SO
7x1,5
O-ring 2
6 mm
max. diameter of the oil feed hole
G2
M8
size thread above for DIN ISO 4762-12.9
MA
42.2 Nm
tightening torque above 3

Your current product variant
Size code35
DesignH
Oil connectorSOOil feed from above
Thêm vào yêu cầu báo giá