PRODUCTS
- Home
- Giới thiệu sản phẩm
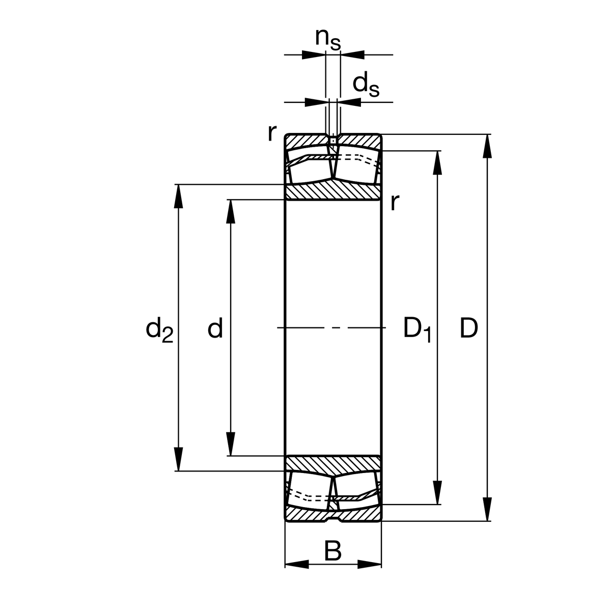
| d | 110 mm | Bore diameter |
| D | 240 mm | Outside diameter |
| B | 80 mm | Width |
| Cr | 950,000 N | Basic dynamic load rating, radial |
| C0r | 1,070,000 N | Basic static load rating, radial |
| Cur | 93,000 N | Fatigue load limit, radial |
| nG | 3,000 1/min | Limiting speed |
| nϑr | 2,130 1/min | Reference speed |
| ≈m | 17.707 kg | Weight |
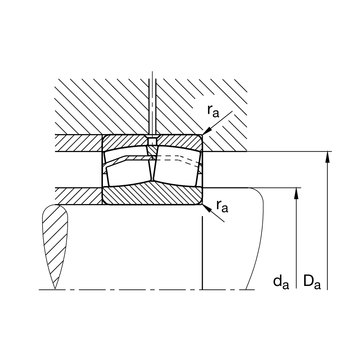
| da min | 124 mm | Minimum diameter shaft shoulder |
| Da max | 226 mm | Maximum diameter of housing shoulder |
| ra max | 2.5 mm | Maximum recess radius |
| rmin | 3 mm | Minimum chamfer dimension |
| D1 | 204.9 mm | Bore diameter outer ring |
| d2 | 143.1 mm | Raceway diameter of the inner ring |
| ds | 8 mm | Diameter lubrication hole |
| ns | 15 mm | Width of lubricating groove |
| Tmin | -30 °C | Operating temperature min. |
| Tmax | 200 °C | Operating temperature max. |
| e | 0.33 | Limiting value of Fa/Fr for the applicability of diff. Values of factors X and Y |
| Y1 | 2.07 | Dynamic axial load factor |
| Y2 | 3.09 | Dynamic axial load factor |
| Y0 | 2.03 | Static axial load factor |
| Design | E1 | without central rip |
| Bore type | Z | Cylindrical |
| Cage | JPA | Sheet metal cage |
| Radial internal clearance | C4 (Group 4) | Internal clearance larger than C3 |
| Relubrication feature | Standard | |
| Spherical roller bearing for vibrating screens | T41A | for vibrating screens |