PRODUCTS

  • Home
  • Giới thiệu sản phẩm

INA
AS1528
Axial bearing washer AS1528
Thêm vào yêu cầu báo giá
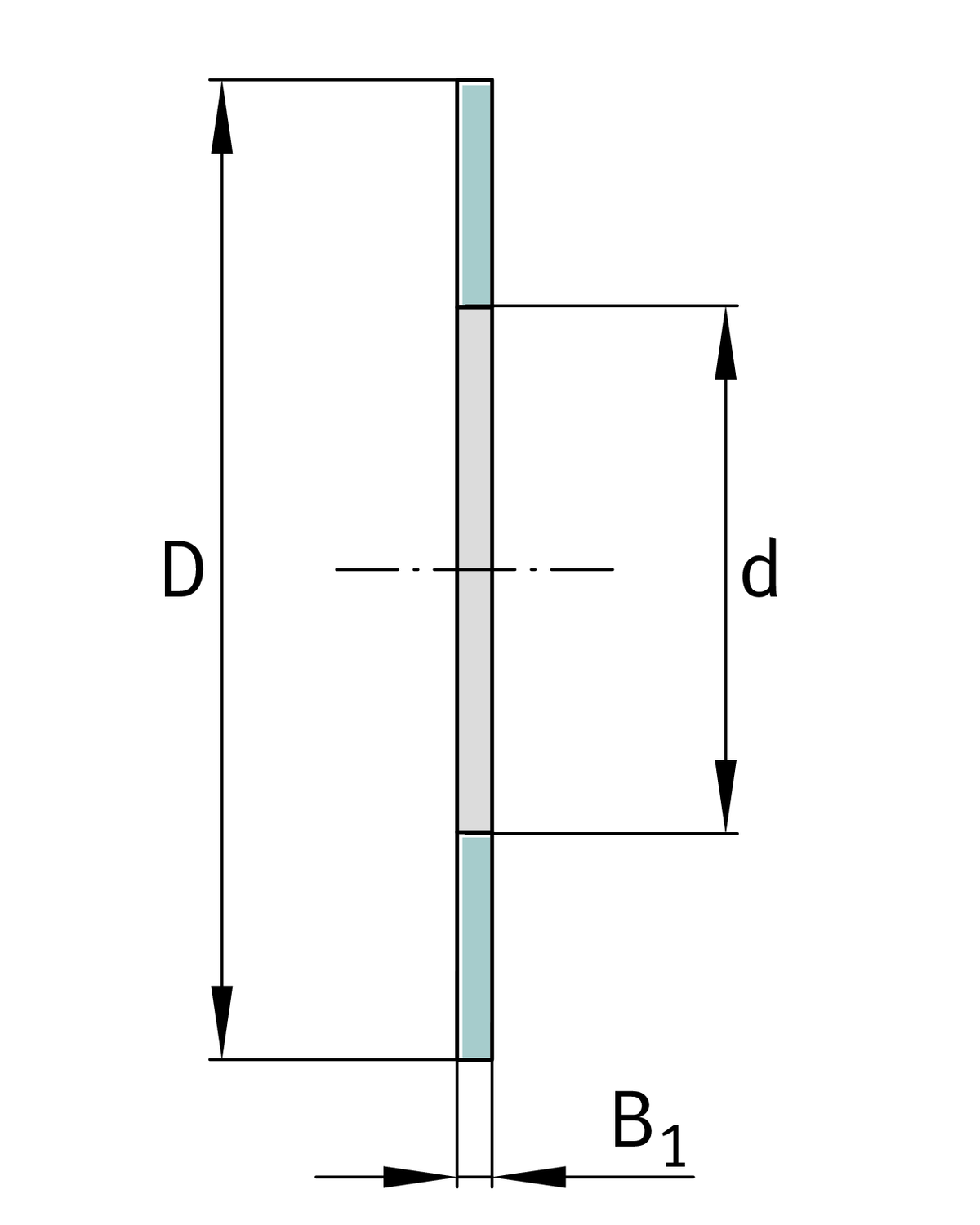
Main Dimensions & Performance Data
d
15 mm
Bore diameter bearing washer
D
28 mm
Outside diameter bearing washer
B1
1 mm
Height bearing washer
≈m
3.215 g
Weight
Thêm vào yêu cầu báo giá