PRODUCTS

  • Home
  • Giới thiệu sản phẩm

INA
GAR17-DO
Rod end GAR17-DO
Thêm vào yêu cầu báo giá
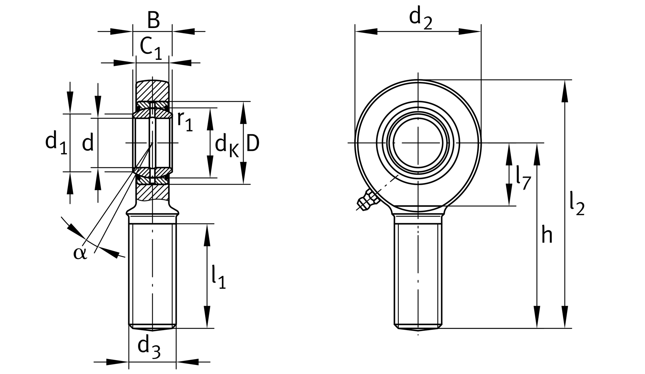
Main Dimensions & Performance Data
Cr
21,300 N
Basic dynamic load rating, radial
C0r
56,500 N
Basic static load rating, radial
d
17 mm
Bore diameter bearing
D
30 mm
Outside diameter bearing
l2
92 mm
Total length external thread head
B
14 mm
Width inner ring
d2
46 mm
Outer eye diameter
≈m
0.202 kg
Weight

Mounting dimensions
d1
20.7 mm
Outer flange diameter inner ring
r1smin
0.3 mm
Edge Spacing

Dimensions
dK
25 mm
Ball diameter
d3
M16
Thread size
h
69 mm
Shank Length External thread rod
C1
11 mm
Width of the rod end
α
10 °
Tilt angle
l1
36 mm
Shank Length External thread head
l7
23 mm
Distance drilling with/shaft start
dOT
0 mm
Bore diameter bearing, upper tolerance
dUT
-0.008 mm
Bore diameter bearing, lower tolerance
BOT
0 mm
Width inner ring, upper tolerance
BUT
-0.12 mm
Width inner ring, lower tolerance
Gr
0,03 - 0,082
Radial Clearance
Grmax
0.082 mm
Radial clearance, maximum
Grmin
0.03 mm
Radial clearance, minimum

Temperature range
Tmin
-60 °C
Operating temperature min.
Tmax
200 °C
Operating temperature max.

Your current product variant
SealingWithout
Radial internal clearanceCN (Group N)Normal internal clearance
Thêm vào yêu cầu báo giá