PRODUCTS

  • Home
  • Giới thiệu sản phẩm

FAG
22320-E1-XL-H40-C3
Spherical Roller Bearing 22320-E1-XL-H40-C3
Thêm vào yêu cầu báo giá
Main Dimensions & Performance Data
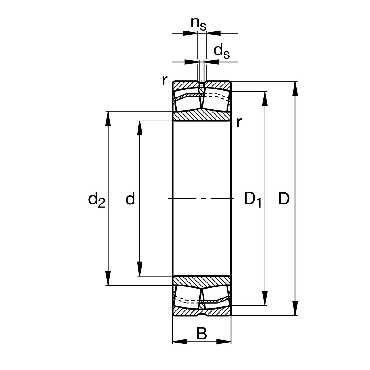
d
100 mm
Bore diameter
D
215 mm
Outside diameter
B
73 mm
Width
Cr
810,000 N
Basic dynamic load rating, radial
C0r
920,000 N
Basic static load rating, radial
Cur
77,000 N
Fatigue load limit, radial
nG
3,300 1/min
Limiting speed
nϑr
2,380 1/min
Reference speed
≈m
13.11 kg
Weight

Mounting dimensions
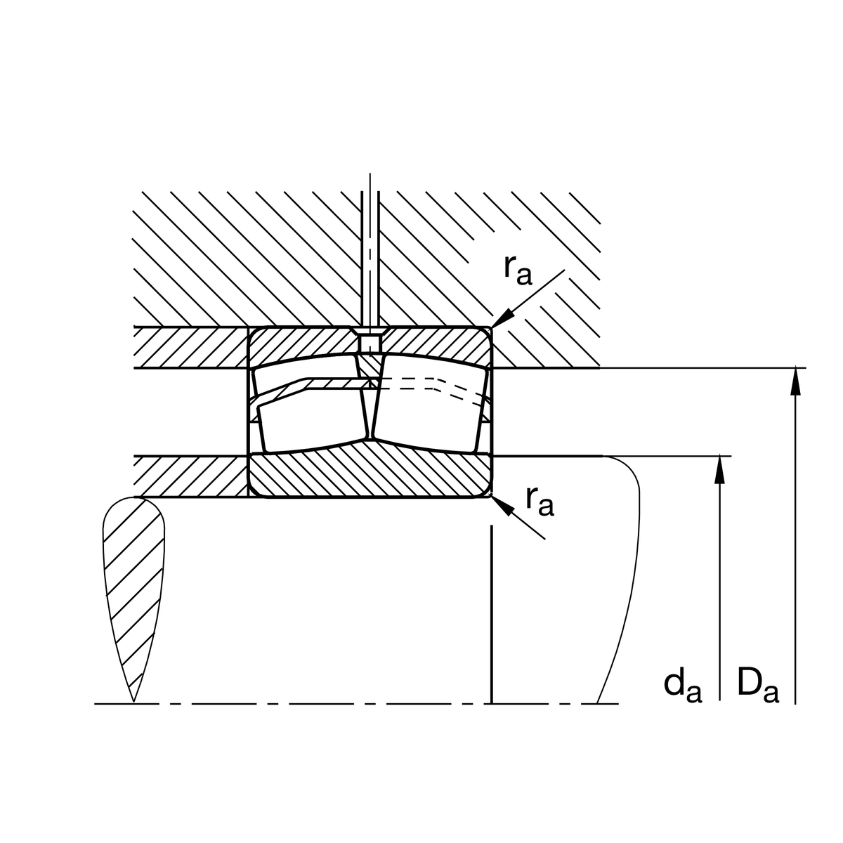
da min
114 mm
Minimum diameter shaft shoulder
Da max
201 mm
Maximum diameter of housing shoulder
ra max
2.5 mm
Maximum recess radius

Dimensions
rmin
3 mm
Minimum chamfer dimension
D1
184.7 mm
Bore diameter outer ring
d2
130.2 mm
Raceway diameter of the inner ring

Temperature range
Tmin
-30 °C
Operating temperature min.
Tmax
200 °C
Operating temperature max.

Calculation factors
e
0.33
Limiting value of Fa/Fr for the applicability of diff. Values of factors X and Y
Y1
2.03
Dynamic axial load factor
Y2
3.02
Dynamic axial load factor
Y0
1.98
Static axial load factor

Your current product variant
DesignE1without central rip
Bore typeZCylindrical
CageJPASheet metal cage
Radial internal clearanceC3 (Group 3)Internal clearance larger than CN
Relubrication featureH40Without lubricating groove and holes
Thêm vào yêu cầu báo giá