PRODUCTS

  • Home
  • Giới thiệu sản phẩm

FAG
22319-E1-XL-H40-T41A-C2
Spherical Roller Bearing 22319-E1-XL-H40-T41A-C2
Thêm vào yêu cầu báo giá
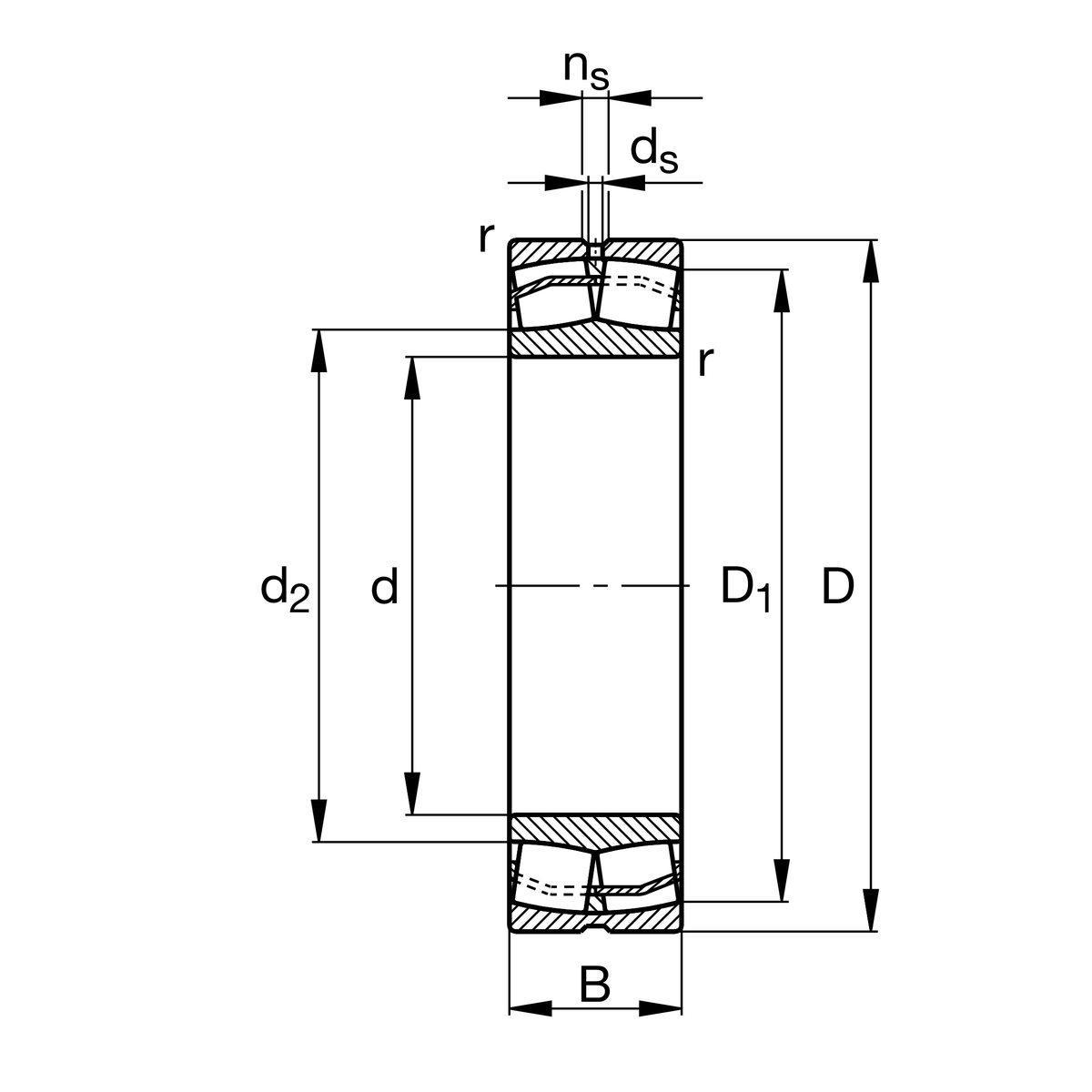
Main Dimensions & Performance Data
d
95 mm
Bore diameter
D
200 mm
Outside diameter
B
67 mm
Width
Cr
670,000 N
Basic dynamic load rating, radial
C0r
700,000 N
Basic static load rating, radial
Cur
61,000 N
Fatigue load limit, radial
nG
3,700 1/min
Limiting speed
nϑr
2,800 1/min
Reference speed
≈m
9.4 kg
Weight

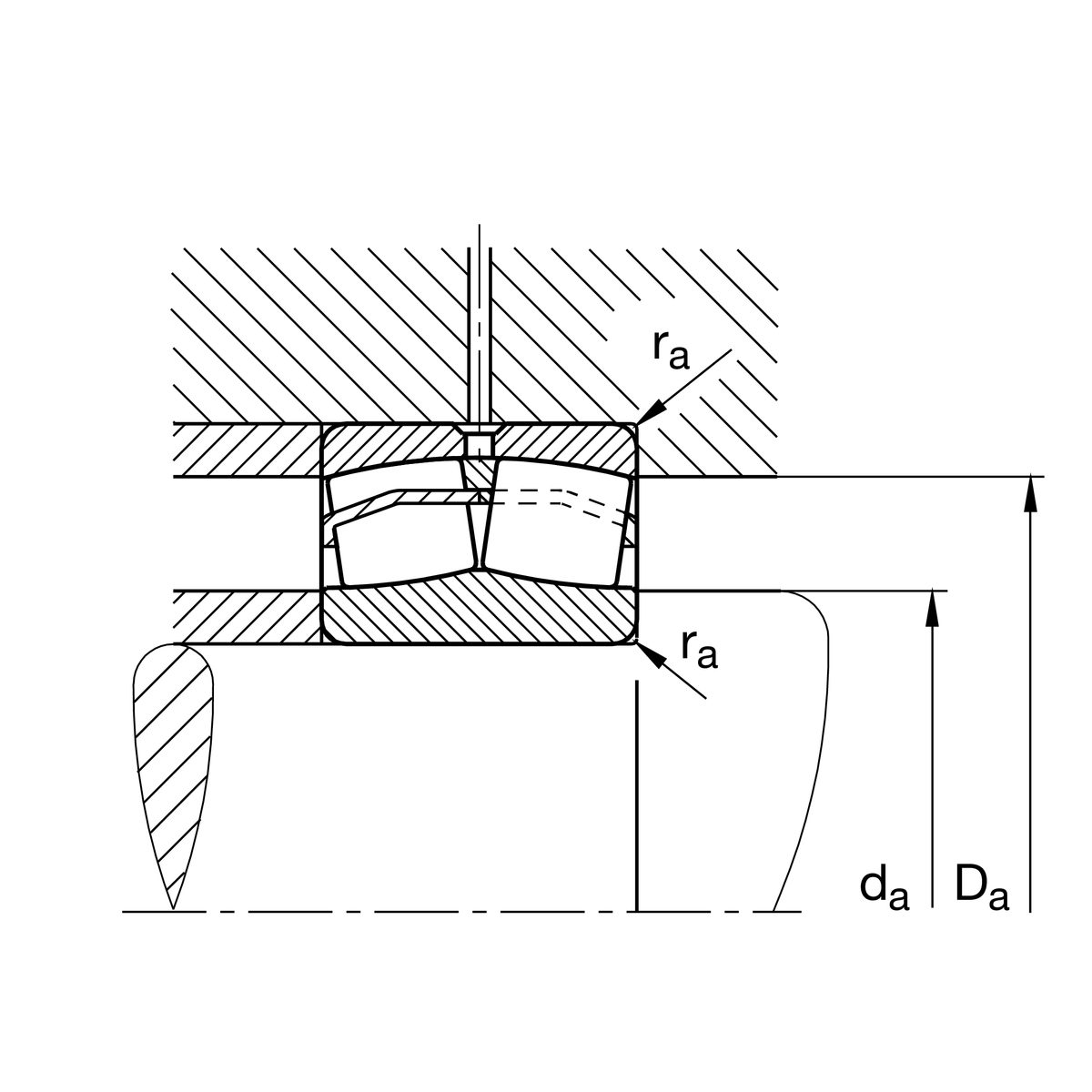
Mounting dimensions
da min
109 mm
Minimum diameter shaft shoulder
Da max
186 mm
Maximum diameter of housing shoulder
ra max
2.5 mm
Maximum recess radius

Dimensions
rmin
3 mm
Minimum chamfer dimension
D1
171.2 mm
Bore diameter outer ring
d2
116 mm
Raceway diameter of the inner ring

Temperature range
Tmin
-30 °C
Operating temperature min.
Tmax
200 °C
Operating temperature max.

Calculation factors
e
0.33
Limiting value of Fa/Fr for the applicability of diff. Values of factors X and Y
Y1
2.03
Dynamic axial load factor
Y2
3.02
Dynamic axial load factor
Y0
1.98
Static axial load factor

Your current product variant
DesignE1without central rip
Bore typeZCylindrical
CageJPASheet metal cage
Radial internal clearanceC2 (Group 2)Internal clearance smaller than CN
Relubrication featureH40Without lubricating groove and holes
Spherical roller bearing for vibrating screensT41Afor vibrating screens
Thêm vào yêu cầu báo giá