PRODUCTS
- Home
- Giới thiệu sản phẩm
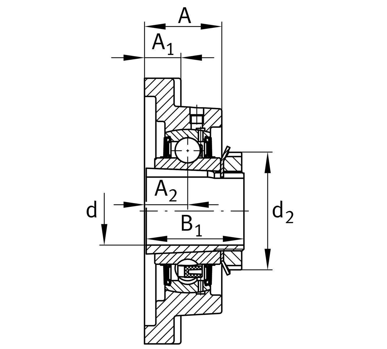
| d | 70 mm | Bore diameter |
| L | 208 mm | Flange width |
| Cr | 76,000 N | Basic dynamic load rating, radial |
| C0r | 54,000 N | Basic static load rating, radial |
| Cur | 2,700 N | Fatigue load limit, radial |
| ≈m | 7.93 kg | Weight |
| J | 165 mm | Distance fixing bore |
| N | 23 mm | Fixing bore |
| n | 4 | Number of screwing holes |
| A | 58 mm | Height housing |
| A1 | 24 mm | Thickness of flange |
| A2 | 34 mm | Distance raceway |
| B | 46 mm | Width |
| B1 | 78 mm | Locking collar total width |
| d3 | 105 mm | Outside diameter eccentric locking collar |
1 | Number of housings | |
F216 | Housing | |
UK216 | Bearing designation |
| Tmin | -20 °C | Operating temperature min. |
| Tmax | 120 °C | Operating temperature max. |
| Material | GG | Grey cast iron |