PRODUCTS
- Home
- Giới thiệu sản phẩm
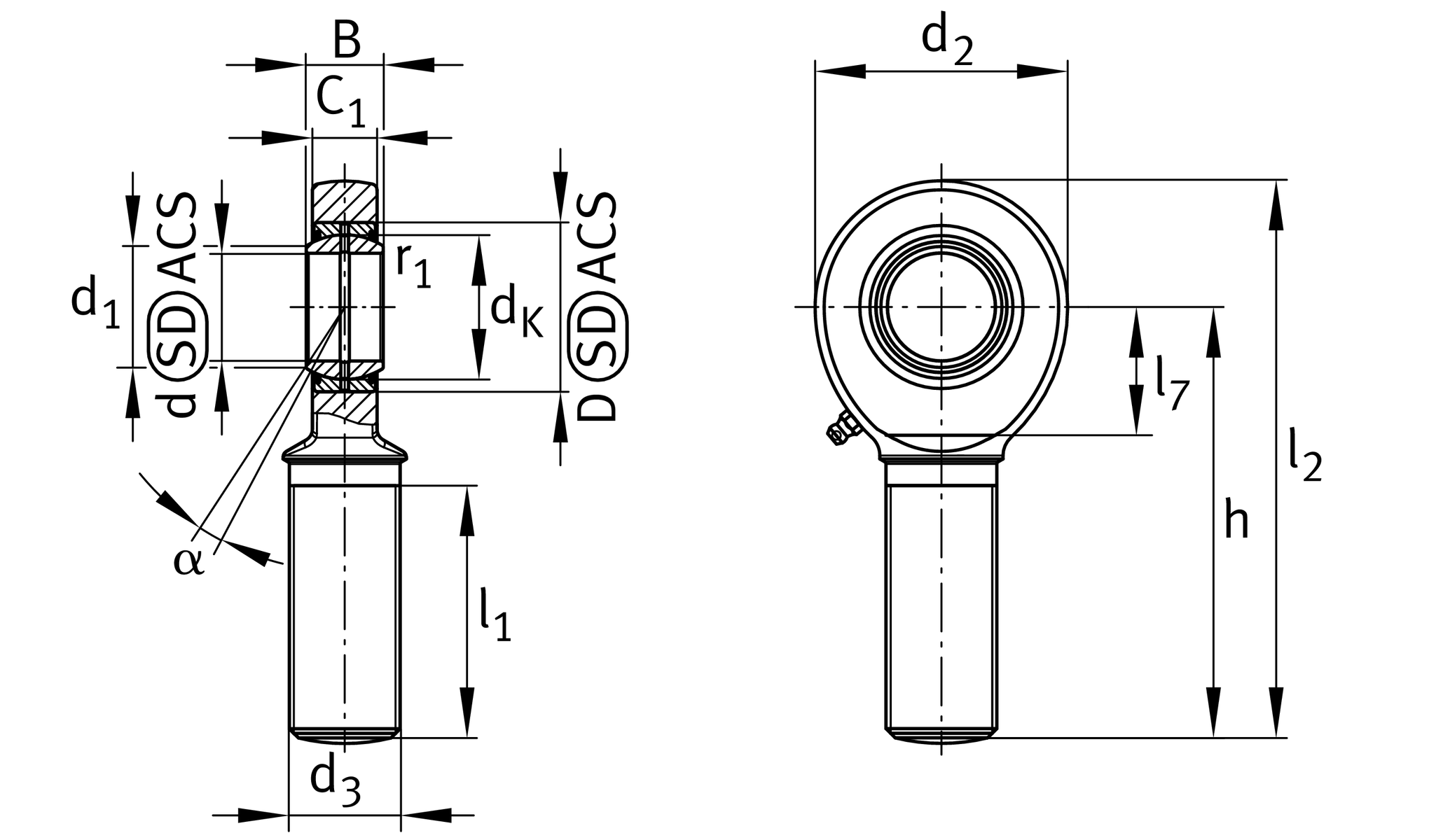
| Cr | 388,000 N | Basic dynamic load rating, radial |
| C0r | 547,000 N | Basic static load rating, radial |
| d | 70 mm | Bore diameter bearing |
| D | 105 mm | Outside diameter bearing |
| l2 | 315 mm | Total length external thread head |
| B | 49 mm | Width inner ring |
| d2 | 160 mm | Outer eye diameter |
| ≈m | 8.73 kg | Weight |
| d1 | 77.9 mm | Outer flange diameter inner ring |
| r1smin | 1 mm | Edge Spacing |
| dK | 92 mm | Ball diameter |
| d3 | M56x4 | Thread size |
| h | 235 mm | Shank Length External thread rod |
| C1 | 42 mm | Width of the rod end |
| α | 6 ° | Tilt angle |
| l1 | 125 mm | Shank Length External thread head |
| l7 | 87 mm | Distance drilling with/shaft start |
| dOT | 0 mm | Bore diameter bearing, upper tolerance |
| dUT | -0.015 mm | Bore diameter bearing, lower tolerance |
| BOT | 0 mm | Width inner ring, upper tolerance |
| BUT | -0.15 mm | Width inner ring, lower tolerance |
| Gr | 0,055 - 0,142 | Radial Clearance |
| Grmax | 0.142 mm | Radial clearance, maximum |
| Grmin | 0.055 mm | Radial clearance, minimum |
| Tmin | -30 °C | Operating temperature min. |
| Tmax | 130 °C | Operating temperature max. |
| Sealing | 2RS | Lip seals on both sides |
| Radial internal clearance | CN (Group N) | Normal internal clearance |