PRODUCTS
- Home
- Giới thiệu sản phẩm
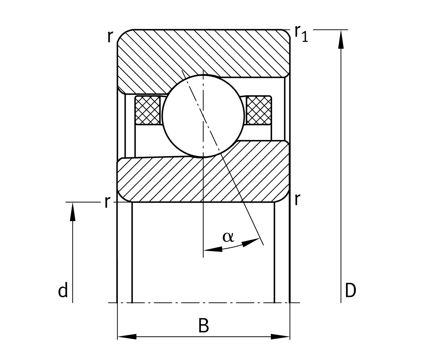
| d | 110 mm | Bore diameter |
| D | 170 mm | Outside diameter |
| B | 28 mm | Width |
| Cr | 129,000 N | Basic dynamic load rating, radial |
| C0r | 55,000 N | Basic static load rating, radial |
| Cur | 2,390 N | Fatigue load limit, radial |
| nG Grease | 15,000 1/min | Limiting speed for grease lubrication |
| nG Oil | 22,000 1/min | Limiting speed for oil lubrication |
| ≈m | 2.09 kg | Weight |
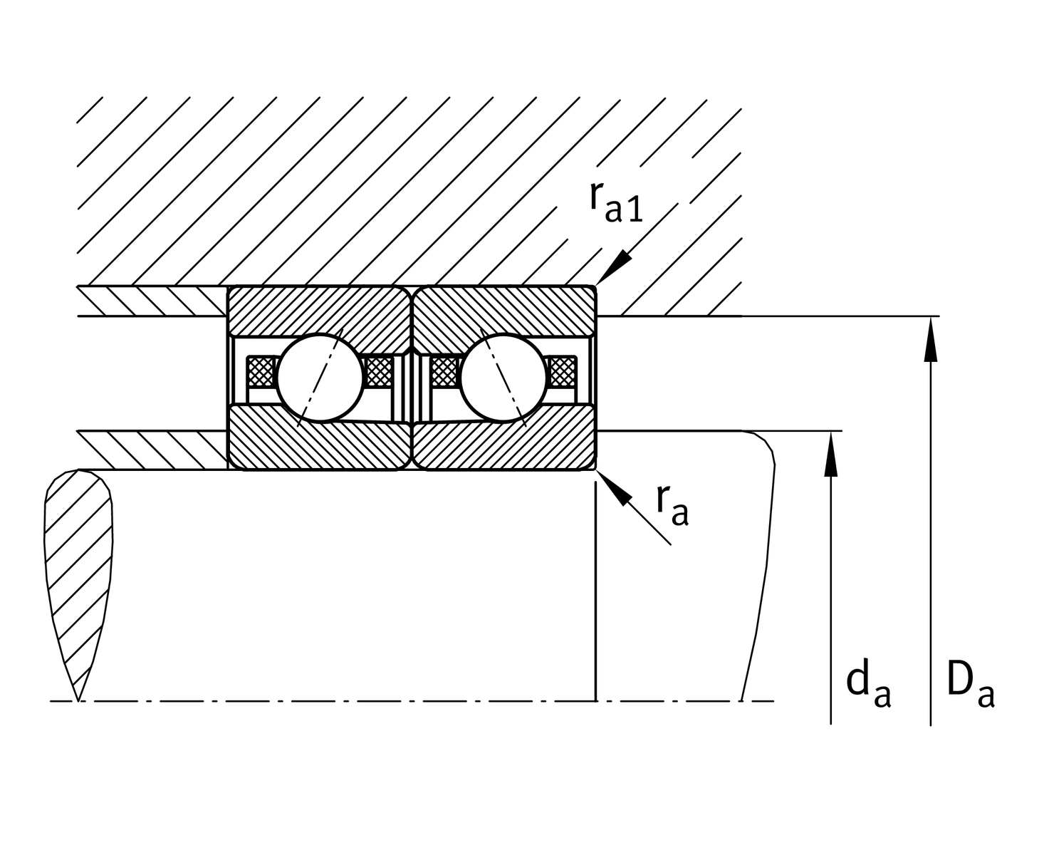
| da | 121 mm | Diameter shaft shoulder |
| da | h12 | Diameter shaft shoulder clearance |
| Da | 159 mm | Shoulder diameter outer ring |
| Da | H12 | Shoulder diameter outer ring clearance |
| ra max | 2 mm | Maximum recess radius |
| ra1 max | 1 mm | Maximum recess radius |
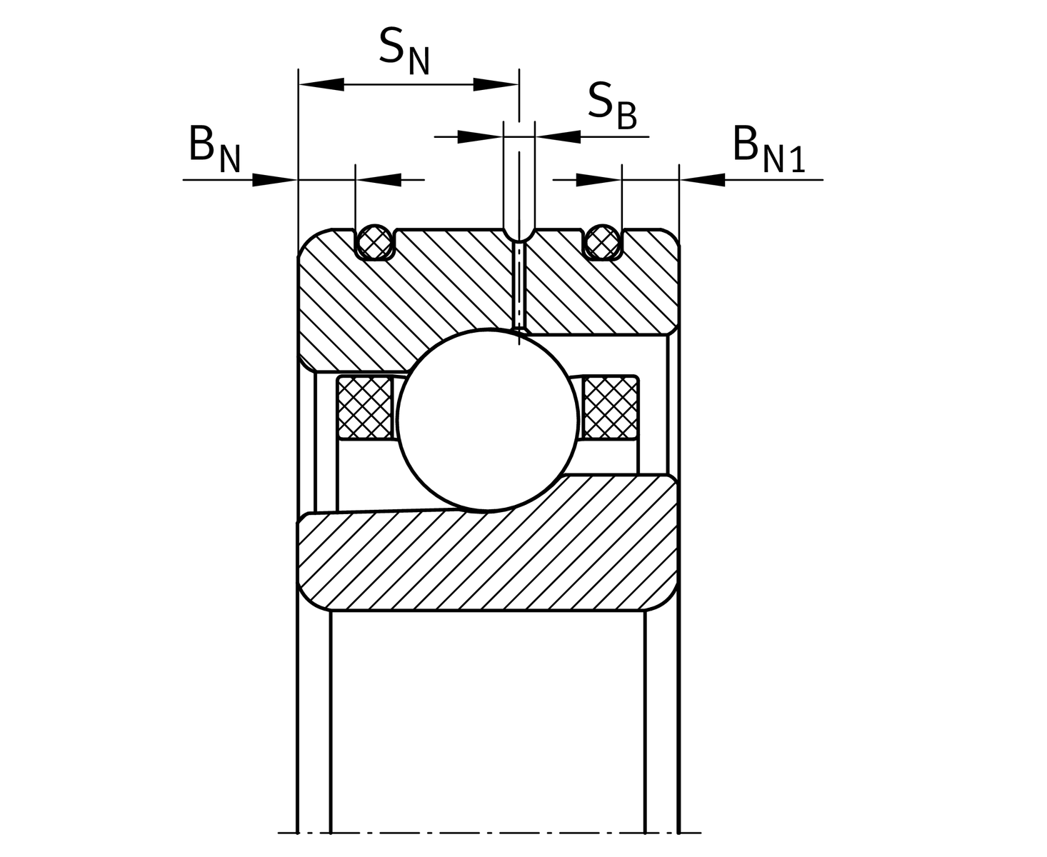
| BN | 5.2 mm | Distance ring grooves |
| BN1 | 5.2 mm | Distance ring grooves |
| SN | 16.2 mm | Distance to lubrication hole |
| SB | 2.2 mm | Width of lubricating groove |
| a | 35.4 mm | Distance between the apexes of the pressure cones |
| rmin | 2 mm | Minimum chamfer dimension |
| r1 min | 1 mm | Minimum chamfer dimension |
| α | 17 ° | Contact angle |
| Tmin | -30 °C | Operating temperature min. |
| Tmax | 100 °C | Operating temperature max. |
| FV L | 276 N | Preload force light |
| FV M | 728 N | Preload force medium |
| FV H | 1,530 N | Preload force heavy |
| KaE L | 805 N | Lift-off force light |
| KaE M | 2,184 N | Lift-off force medium |
| KaE H | 4,742 N | Lift-off force heavy |
| ca L | 117 N/µm | Axial rigidity light |
| ca M | 169 N/µm | Axial rigidity medium |
| ca H | 229 N/µm | Axial rigidity heavy |
| Contact angle | C(17°) | Contact angle 17° |
| Lubricant | Without | |
| Sealing | Without | |
| Outer shape | DLR | Direct lubrication, annular slots with O rings |
| Cage | T | Laminated fabric cage |
| Tolerance class | P4S | tolerance class P4S, FAG standard better than P4 to DIN 620 |
| Arrangement bearing set | U | Single bearing |
| Preload | L | preload light |