PRODUCTS
- Home
- Giới thiệu sản phẩm
| D | 260 mm | Outside diameter bearing |
| a | 530 mm | Length base |
| h1 | 321 mm | Height |
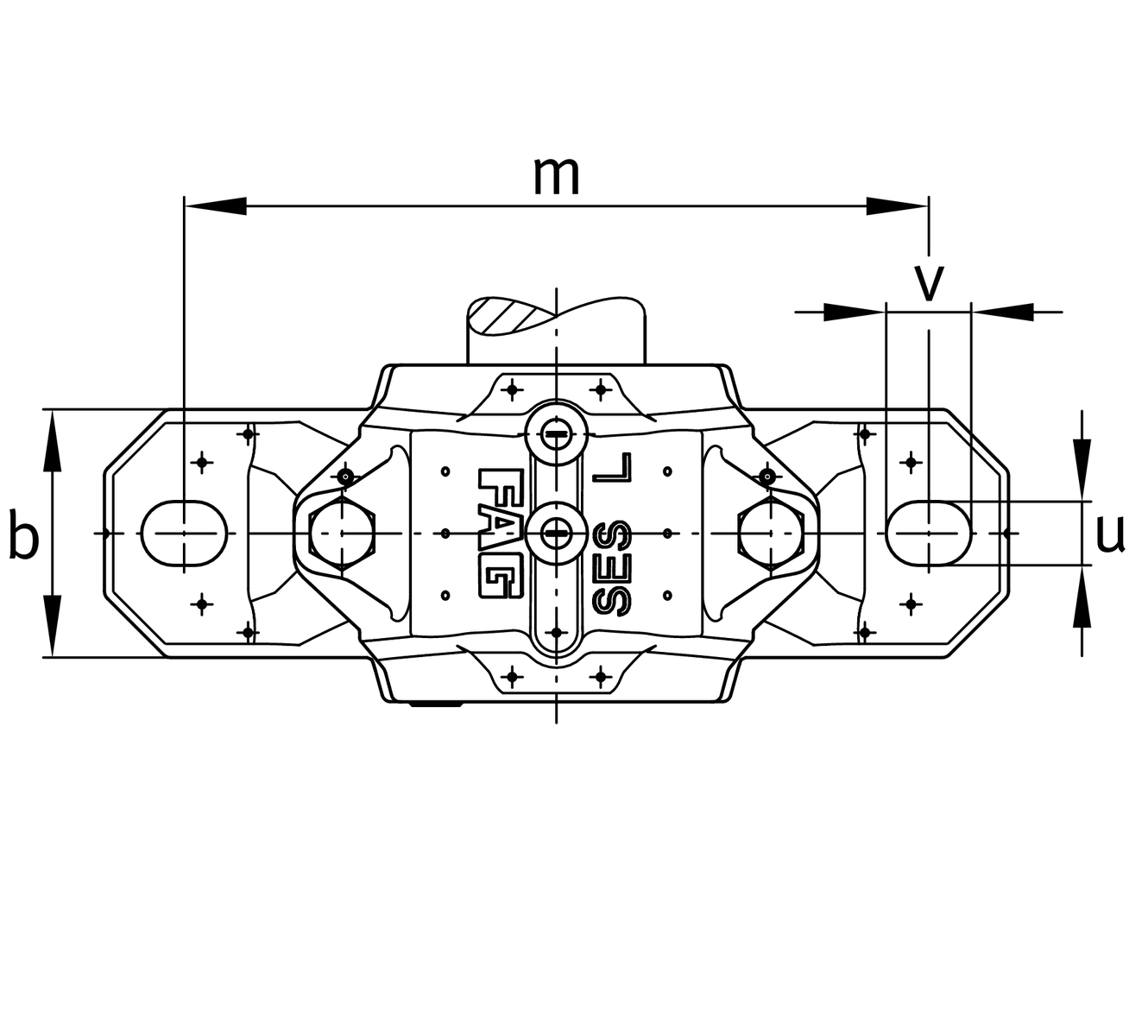
| g | 190 mm | Width housing body |
| K | 96 mm | Width bearing seat |
| ≈m | 48.4 kg | Weight |
| b | 160 mm | Width base |
| c | 60 mm | Height base |
| h | 160 mm | Base to shaft centerline height |
| m | 450 mm | Distance fixing bore |
| s | 31.75 mm | Screw size |
| s | M30 | Size of fixing screws |
| u | 35 mm | Width slot |
| v | 42 mm | Length slot |
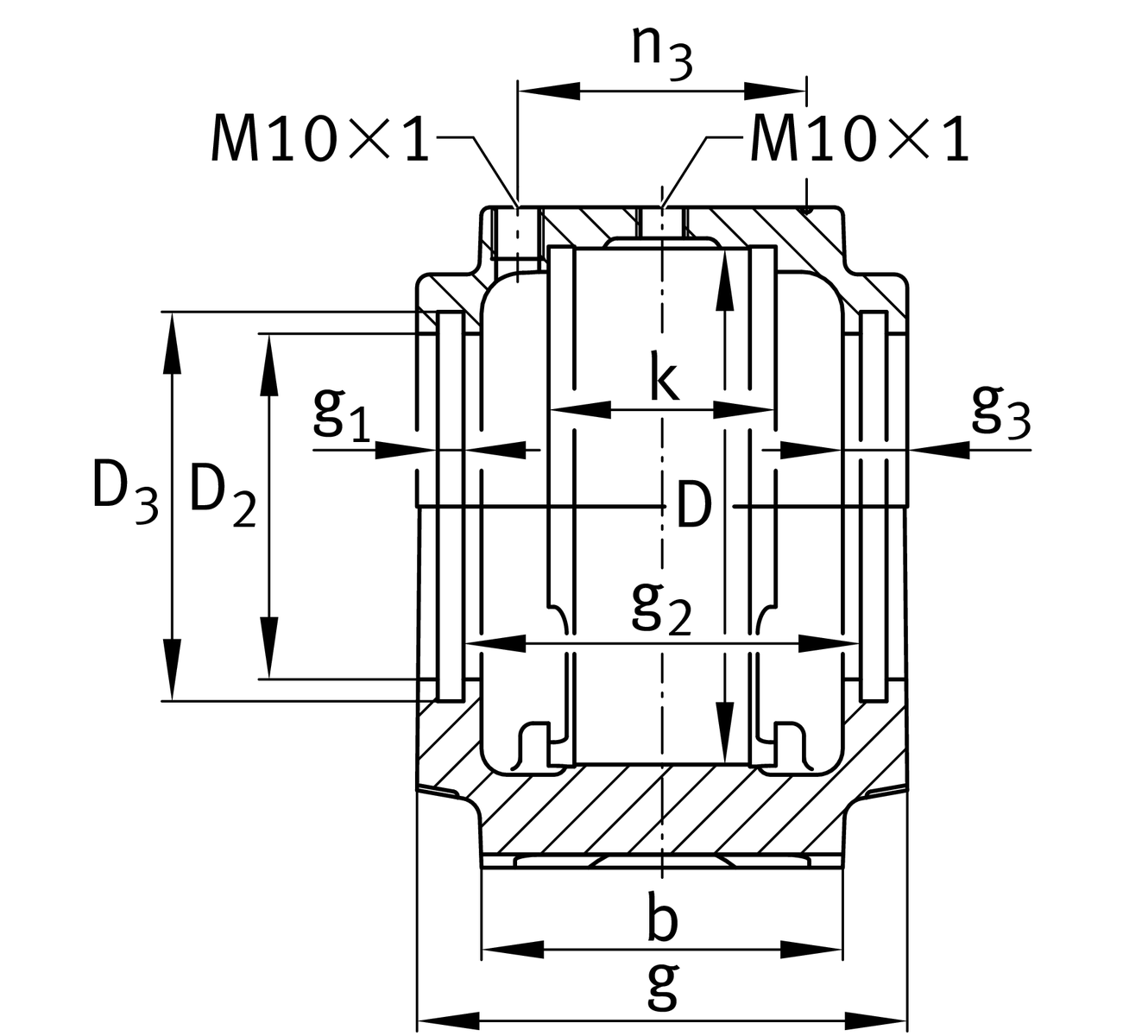
| D2 | 157.5 mm | Diameter sealing |
| D3 | 167.5 mm | Diameter sealing groove |
| D5 | 164.7 mm | Outside diameter sealing labyrinth |
| g1 | 6 mm | Width sealing groove |
| g2 | 165.5 mm | Distance sealing |
| g3 | 18 mm | Wall thickness |
| g4 | 43 mm | Distance oil lubricatian |
| m1 | 378 mm | Distance holes aligned pins m1 |
| n3 | 125 mm | Distance lubrication |
| n4 | 172 mm | Distance lubriaction sealing |
| u1 | 12 mm | Bore diameter u1 |
| u2 | 26 mm | Bore diameter u2 |