PRODUCTS
- Home
- Giới thiệu sản phẩm
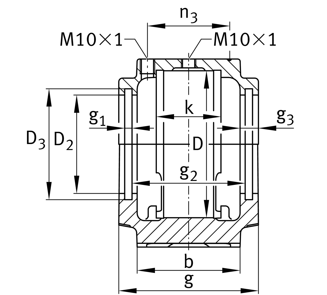
| D | 190 mm | Outside diameter bearing |
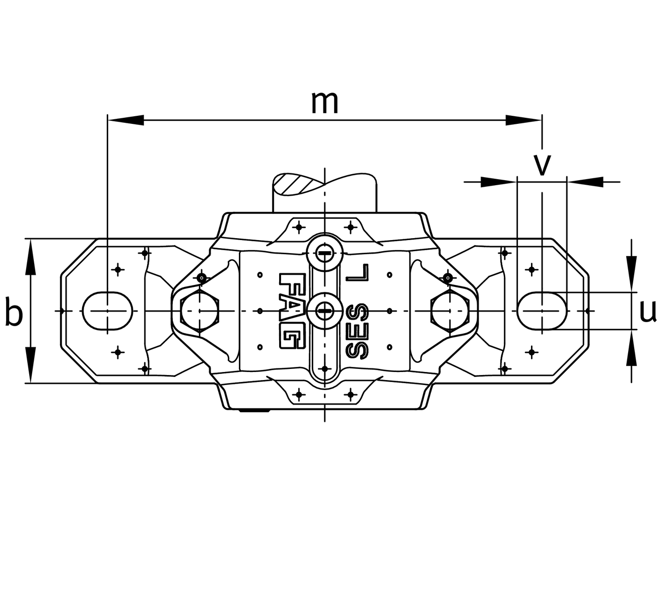
| a | 380 mm | Length base |
| h1 | 229 mm | Height |
| g | 155 mm | Width housing body |
| K | 74 mm | Width bearing seat |
| ≈m | 19 kg | Weight |
| b | 110 mm | Width base |
| c | 40 mm | Height base |
| h | 112 mm | Base to shaft centerline height |
| m | 320 mm | Distance fixing bore |
| s | 22.225 mm | Screw size |
| s | M24 | Size of fixing screws |
| u | 26 mm | Width slot |
| v | 32 mm | Length slot |
| D2 | 120 mm | Diameter sealing |
| D3 | 128.5 mm | Diameter sealing groove |
| D5 | 125.7 mm | Outside diameter sealing labyrinth |
| g1 | 5 mm | Width sealing groove |
| g2 | 134.5 mm | Distance sealing |
| g3 | 15 mm | Wall thickness |
| g4 | 30.5 mm | Distance oil lubricatian |
| m1 | 276 mm | Distance holes aligned pins m1 |
| n3 | 99 mm | Distance lubrication |
| n4 | 139 mm | Distance lubriaction sealing |
| u1 | 8 mm | Bore diameter u1 |
| u2 | 18 mm | Bore diameter u2 |