PRODUCTS
- Home
- Giới thiệu sản phẩm
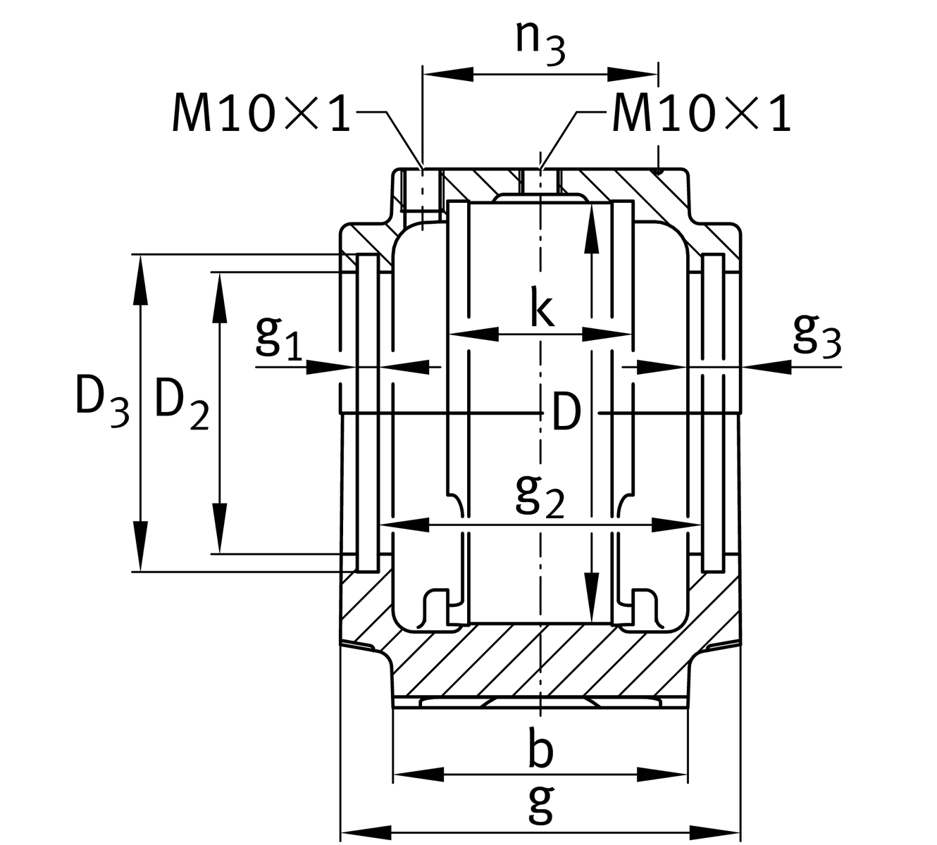
| D | 230 mm | Outside diameter bearing |
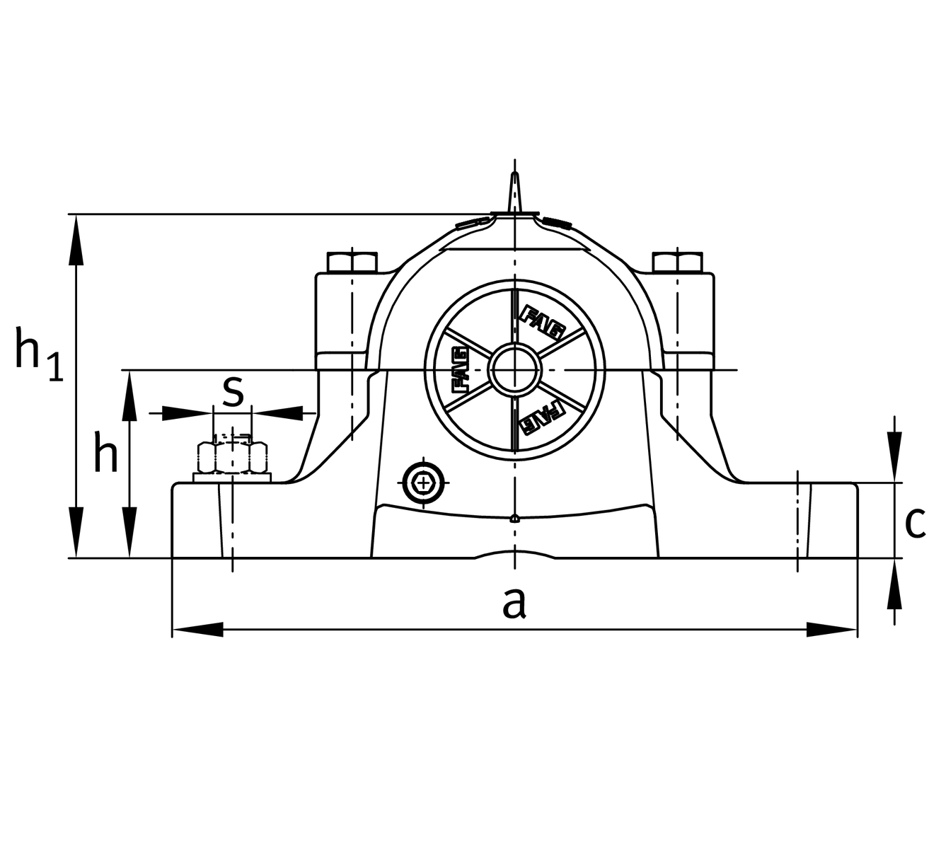
| a | 445 mm | Length base |
| h1 | 290 mm | Height |
| g | 190 mm | Width housing body |
| K | 90 mm | Width bearing seat |
| ≈m | 33 kg | Weight |
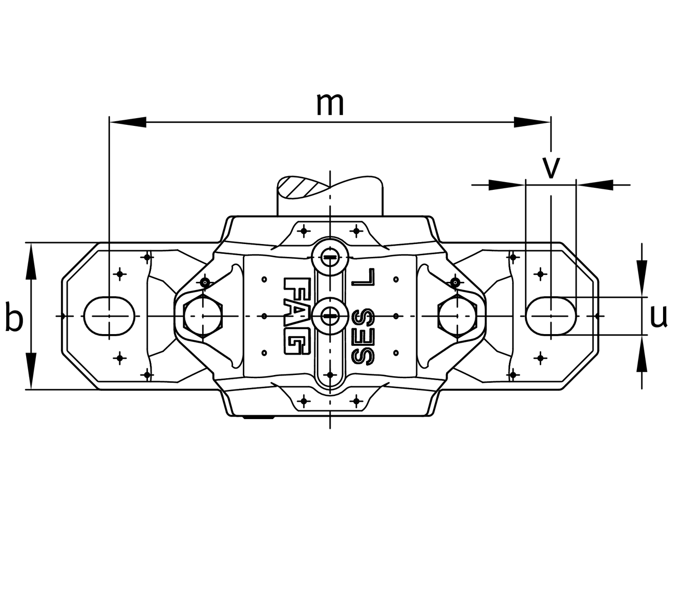
| b | 130 mm | Width base |
| c | 50 mm | Height base |
| h | 150 mm | Base to shaft centerline height |
| m | 380 mm | Distance fixing bore |
| s | 25.4 mm | Screw size |
| s | M24 | Size of fixing screws |
| u | 28 mm | Width slot |
| v | 35 mm | Length slot |
| D2 | 167.5 mm | Diameter sealing |
| D3 | 177.5 mm | Diameter sealing groove |
| D5 | 174.7 mm | Outside diameter sealing labyrinth |
| g1 | 6 mm | Width sealing groove |
| g2 | 168 mm | Distance sealing |
| g3 | 15 mm | Wall thickness |
| g4 | 46 mm | Distance oil lubricatian |
| m1 | 328 mm | Distance holes aligned pins m1 |
| n3 | 122 mm | Distance lubrication |
| n4 | 170 mm | Distance lubriaction sealing |
| u1 | 10 mm | Bore diameter u1 |
| u2 | 22 mm | Bore diameter u2 |