PRODUCTS
- Home
- Giới thiệu sản phẩm
| D | 62 mm | Outside diameter bearing |
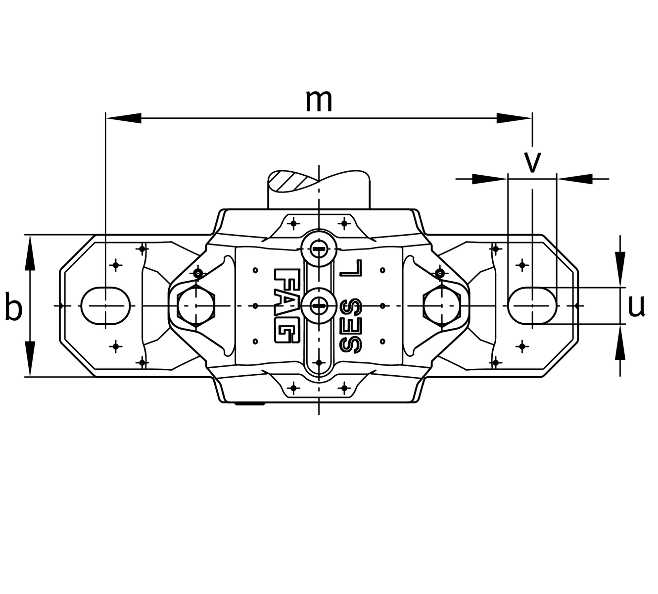
| a | 185 mm | Length base |
| h1 | 89 mm | Height |
| g | 77 mm | Width housing body |
| K | 32 mm | Width bearing seat |
| ≈m | 2.13 kg | Weight |
| b | 52 mm | Width base |
| c | 22 mm | Height base |
| h | 50 mm | Base to shaft centerline height |
| m | 150 mm | Distance fixing bore |
| s | 12.7 mm | Screw size |
| s | M12 | Size of fixing screws |
| u | 15 mm | Width slot |
| v | 20 mm | Length slot |
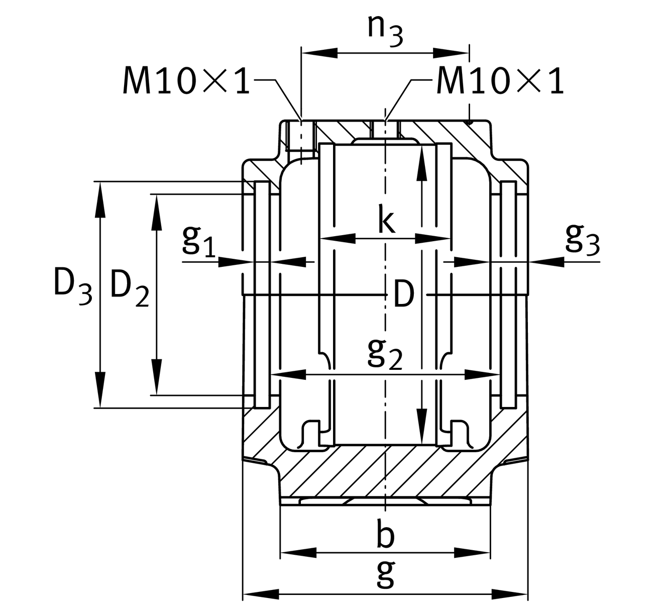
| D2 | 36.5 mm | Diameter sealing |
| D3 | 44.5 mm | Diameter sealing groove |
| D5 | 42.7 mm | Outside diameter sealing labyrinth |
| g1 | 5 mm | Width sealing groove |
| g2 | 62 mm | Distance sealing |
| g3 | 10 mm | Wall thickness |
| g4 | 23 mm | Distance oil lubricatian |
| m1 | 119 mm | Distance holes aligned pins m1 |
| n3 | 42 mm | Distance lubrication |
| n4 | 63 mm | Distance lubriaction sealing |
| u1 | 4 mm | Bore diameter u1 |
| u2 | 9 mm | Bore diameter u2 |