PRODUCTS
- Home
- Giới thiệu sản phẩm
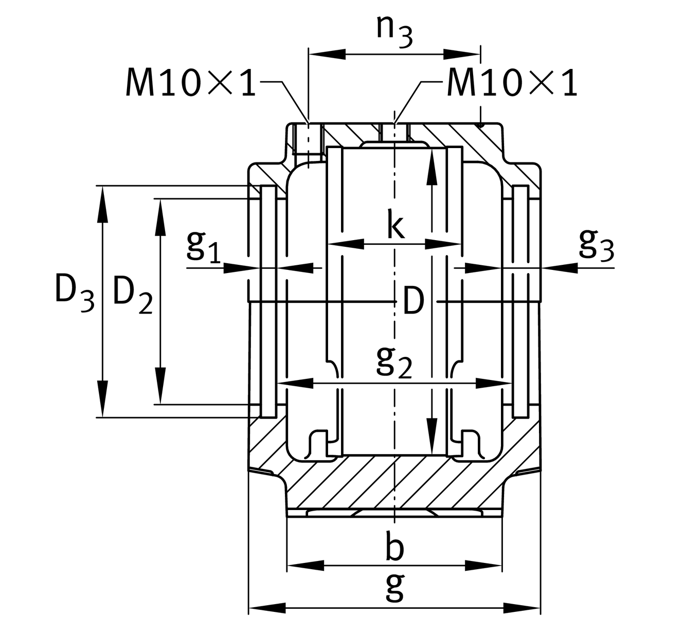
| D | 125 mm | Outside diameter bearing |
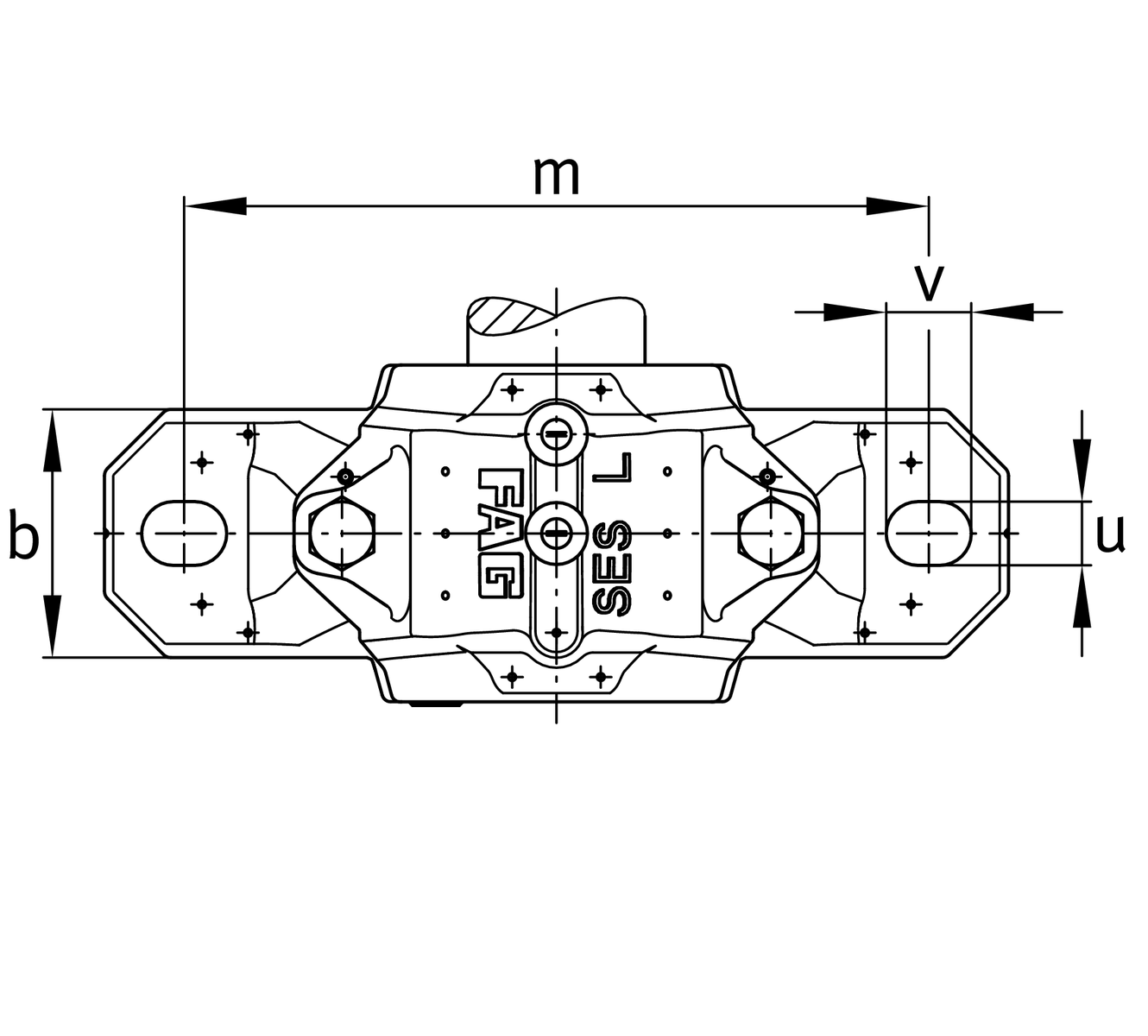
| a | 275 mm | Length base |
| h1 | 158 mm | Height |
| g | 105 mm | Width housing body |
| K | 39 mm | Width bearing seat |
| ≈m | 6.3 kg | Weight |
| b | 80 mm | Width base |
| c | 30 mm | Height base |
| h | 80 mm | Base to shaft centerline height |
| m | 230 mm | Distance fixing bore |
| s | 15.875 mm | Screw size |
| s | M16 | Size of fixing screws |
| u | 18 mm | Width slot |
| v | 24 mm | Length slot |
| D2 | 112 mm | Diameter sealing |
| D3 | 120.5 mm | Diameter sealing groove |
| D5 | 118.2 mm | Outside diameter sealing labyrinth |
| g1 | 5 mm | Width sealing groove |
| g2 | 84.5 mm | Distance sealing |
| g3 | 15 mm | Wall thickness |
| g4 | 45 mm | Distance oil lubricatian |
| m1 | 190 mm | Distance holes aligned pins m1 |
| n3 | 57 mm | Distance lubrication |
| n4 | 90 mm | Distance lubriaction sealing |
| u1 | 4 mm | Bore diameter u1 |
| u2 | 14 mm | Bore diameter u2 |