PRODUCTS

  • Home
  • Giới thiệu sản phẩm

INA
TME55-XL
Flanged housing unit TME55-XL
Thêm vào yêu cầu báo giá
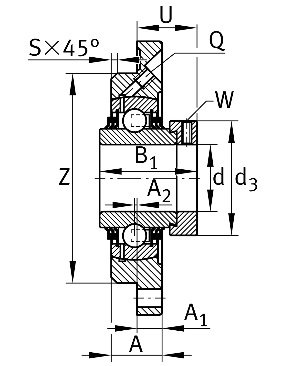
Main Dimensions & Performance Data
d
55 mm
Bore diameter
H
185 mm
Height flange
B1
71.4 mm
Locking collar total width
U
43.6 mm
Total height unit
Cr
43,500 N
Basic dynamic load rating, radial
C0r
29,000 N
Basic static load rating, radial
Cur
1,240 N
Fatigue load limit, radial
≈m
3.55 kg
Weight

Mounting dimensions
J
150 mm
Pitch circle diameter (holes)
N
18 mm
Fixing bore
Z
125 mm
Diameter spigot
h8
Diameter spigot clearance
n
4
Number of screwing holes

Dimensions
A
27.5 mm
Height housing
A1
15 mm
Thickness of flange
S
3 mm
Chamfer width
Q
M6
Connection thread for lubrication

Additional information
1
Number of housings
GG.ME11
Housing
GE55-XL-KTT-B
Bearing designation

Temperature range
Tmin
-20 °C
Operating temperature min.
Tmax
120 °C
Operating temperature max.

Your current product variant
MaterialGGGrey cast iron
Thêm vào yêu cầu báo giá