PRODUCTS

  • Home
  • Giới thiệu sản phẩm

INA
BKE.TSX35-D-SO
Braking/clamping element BKE.TSX35-D-SO
Thêm vào yêu cầu báo giá
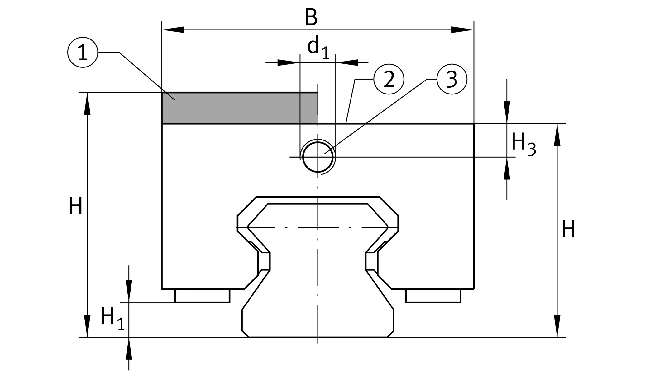
Main Dimensions & Performance Data
H
48 mm
height sytem
without
adapter plate
B
69 mm
width of braking and clamping element
L
120 mm
length braking and clamping element
2,800 N
clamping force 1
≈m
2.48 kg
Weight

Dimensions
JB
58 mm
hole pattern
JC
48 mm
hole pattern
A1
13.5 mm
distance
JL
100 mm
hole pattern
C7
0 mm
distance
H1
6.6 mm
space (system)
H3
8.1 mm
mounting dimension
AL2
5 mm
distance
d1
M8x1
size thread
SO
7x1,5
O-ring 2
6 mm
max. diameter of the oil feed hole 3
G2
M8
size thread above for DIN ISO 4762-12.9
MA
42.2 Nm
tightening torque above 4

Your current product variant
Size code35
VersionD
Oil connectorSOOil feed from above
Thêm vào yêu cầu báo giá