PRODUCTS
- Home
- Giới thiệu sản phẩm
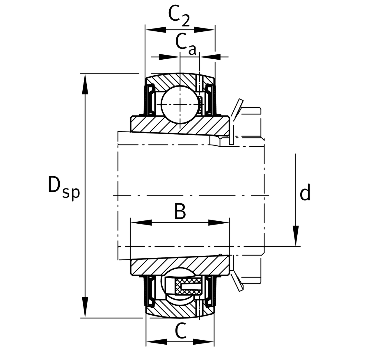
| d | 20 mm | Bore diameter |
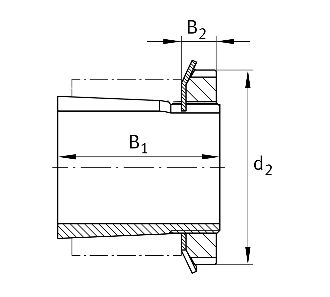
| DSP | 52 mm | Outside diameter |
| B | 23 mm | Width |
| Cur | 410 N | Fatigue load limit, radial |
| B1 | 35 mm | Locking collar total width |
| Cr | 14,900 N | Basic dynamic load rating, radial |
| C0r | 7,800 N | Basic static load rating, radial |
| ≈m | 0.25 kg | Weight |
| C | 17 mm | Width, outer ring |
| C2 | 17.6 mm | Sealing total width |
| Ca | 4.2 mm | Distance to lubrication hole |
| d3 | 38 mm | Outside diameter locking collar/locknut |
| B2 | 8 mm | Width nut and lock |
| Tmin | -20 °C | Operating temperature min. |
| Tmax | 100 °C | Operating temperature max. |
| f0 | 13.8 | Calculation factor |
H2305-J30QH | Adapter sleeve | |
KM5 | Locknut | |
MB5 | Fuse | |
H.H2305 | Sleeve |
| Sealing | 2RSR | Lip seal on both sides (vulcanised) |
| Shape of outer surface | B |