PRODUCTS

  • Home
  • Giới thiệu sản phẩm

INA
AS6590
Axial bearing washer AS6590
Thêm vào yêu cầu báo giá
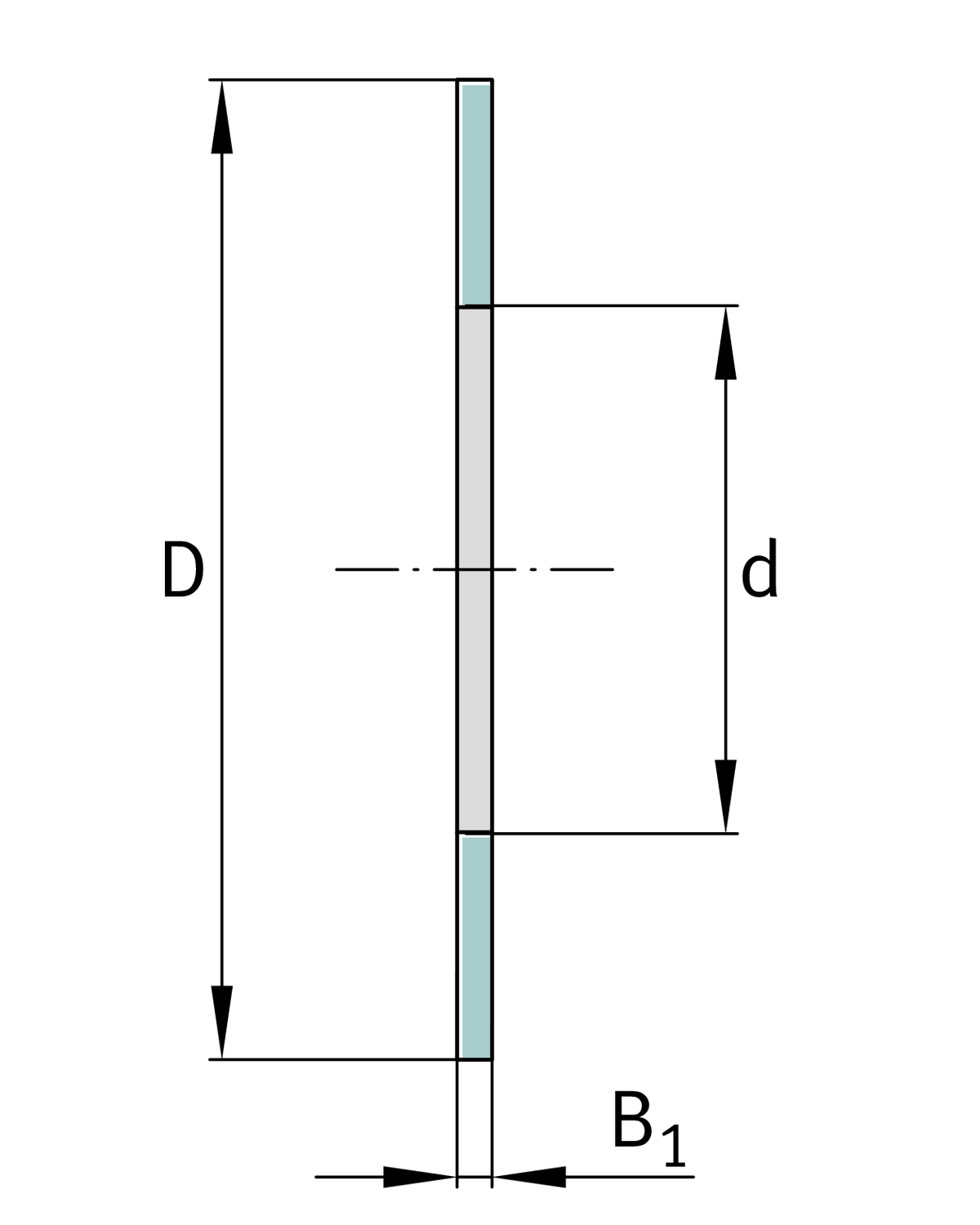
Main Dimensions & Performance Data
d
65 mm
Bore diameter bearing washer
D
90 mm
Outside diameter bearing washer
B1
1 mm
Height bearing washer
≈m
22.4 g
Weight
Thêm vào yêu cầu báo giá